lemon-mirror:
Home >> Ford >> 2000 >> Excursion 2WD V8-5.4L SOHC VIN L >> Repair and Diagnosis >> Specifications >> Mechanical Specifications >> Engine >> System Specifications >> Torque >> Connecting Rod Bolt/Nut

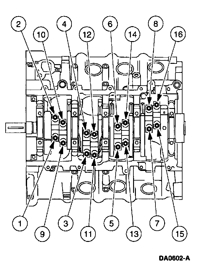
Connecting Rod Bolt/Nut





Note: The connecting rod caps are of the "cracked" design and must mate with the connecting rod ends. Excessive bearing clearance will result if not mated correctly.

Position the lower bearing and connecting rod, and install the new bolts loosely.

Tighten the bolts in two stages, in the sequence shown.
1. Stage 1: Tighten to 40-45 Nm (30-33 ft. lbs.).
2. Stage 2: Rotate 90-120 degrees.