lemon-mirror:
Home >> Ford >> 1995 >> Explorer 2WD V6-245 4.0L >> Repair and Diagnosis >> Powertrain Management >> Computers and Control Systems >> Cylinder Identification Sensor >> Service and Repair

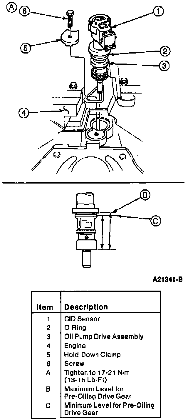
Cylinder Identification Sensor: Service and Repair

REMOVAL

1. Disconnect the battery ground cable.

NOTE: When the battery has been disconnected and reconnected, some abnormal drive symptoms may occur while the Powertrain Control Module (PCM) relearns its adaptive strategy. The vehicle may need to be driven 16 km (10 miles) or more to relearn the strategy.

2. Disconnect the engine wiring harness connector at the Camshaft Position (CMP), or Cylinder Identification (CID) sensor.

3. Remove the CMP sensor retaining screws and CMP from synchronizer assembly.

NOTE: Prior to the removal of the CMP sensor, set No. 1 cylinder to 0 degrees Top Dead Center (TDC) of the compression stroke. Note the position of the CMP sensor electrical connector. The installation procedure requires that the connector be located in the same position.

4. Remove hold-down clamp.

5. Remove the synchronizer assembly from cylinder block.

INSTALLATION

1. Rotate crankshaft until TDC mark on the damper is accessible. If not present, place an additional mark on the damper at 26 degrees After Top Dead Center (ATDC). This position is 34 mm (1.34 in) counterclockwise from the TDC mark.

2. Position No. 1 cylinder to TDC between compression and ignition stroke. (Both intake and exhaust valves must be closed with TDC mark on vibration damper at pointer).






3. Lubricate oil pump drive pinion and O-ring on assembled oil pump drive gear and CMP sensor with SM-2C 1013-A oil. Do not get oil above mounting flange.






4. Align the CMP sensor rotor as shown with the trailing edge of the vane lined up with the short mark at the left-hand side of the plastic window.

NOTE: Normal CMP sensor rotation is clockwise viewed from top of CID sensor.

5. Position the sensor above its hole at right angles to the block rear face.






6. Install the assembled CMP sensor and oil pump drive gear into the engine. As the assembly is pushed into place, the camshaft gear will rotate the sensor vane clockwise toward the center window.






7. Rotate the CMP sensor counterclockwise. Install clamp and screw finger-tight. Rotate the sensor back to its position at right angles to the back of the block.

8. Connect the CMP Testing Wiring Harness T94T-50-B or equivalent to the CMP sensor.

9. Connect the CMP Testing Wiring Harness leads:

Red harness wire to the battery positive terminal.

Black harness wire to battery negative terminal.

Voltmeter positive lead to harnesses white lead.

Voltmeter negative lead to battery negative terminal.

10. Rotate engine two revolutions to take up slack in timing chain and return to No. 1 cylinder to its compression stroke.

11. Verify that No. 1 cylinder is on its compression stroke.

NOTE: No. 1 cylinder must be at 26 degrees ATDC to set CMP sensor.

12. Continue to rotate the crankshaft until the new 26 degrees ATDC mark lines up with the timing pointer.

13. While rotating the CMP sensor, note the exact point where the sensor switches from 0 to 12 volts on the voltmeter.

NOTE: The voltmeter will register battery voltage whenever the CMP closes and makes a complete circuit.

14. Rotate the CMP sensor clockwise past the CMP switching point (from 12 to 0 volts).

NOTE: The final movement to set the CMP sensor must be in a counterclockwise direction.

15. Rotate the CMP sensor counterclockwise and stop at the exact point the voltmeter switches from 0 to 12 volts.

16. Tighten the CMP sensor hold-down bolts to 17-21 Nm (13-15 lb ft) using Sensor Adjusting Wrench T94T-12270-A.

17. Disconnect the testing wiring harness and the voltmeter.