lemon-mirror:
Home >> Ford >> 1994 >> Taurus V6-232 3.8L >> Repair and Diagnosis >> Diagrams >> Connector Views >> Cellular Phone >> Hand Set

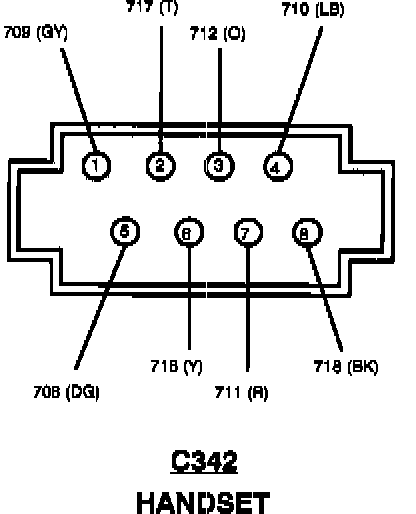
Hand Set

Handset: