lemon-mirror:
Home >> Ford >> 1992 >> Taurus V6-232 3.8L >> Repair and Diagnosis >> Diagrams >> Exploded Views >> Wheel Bearing >> Front

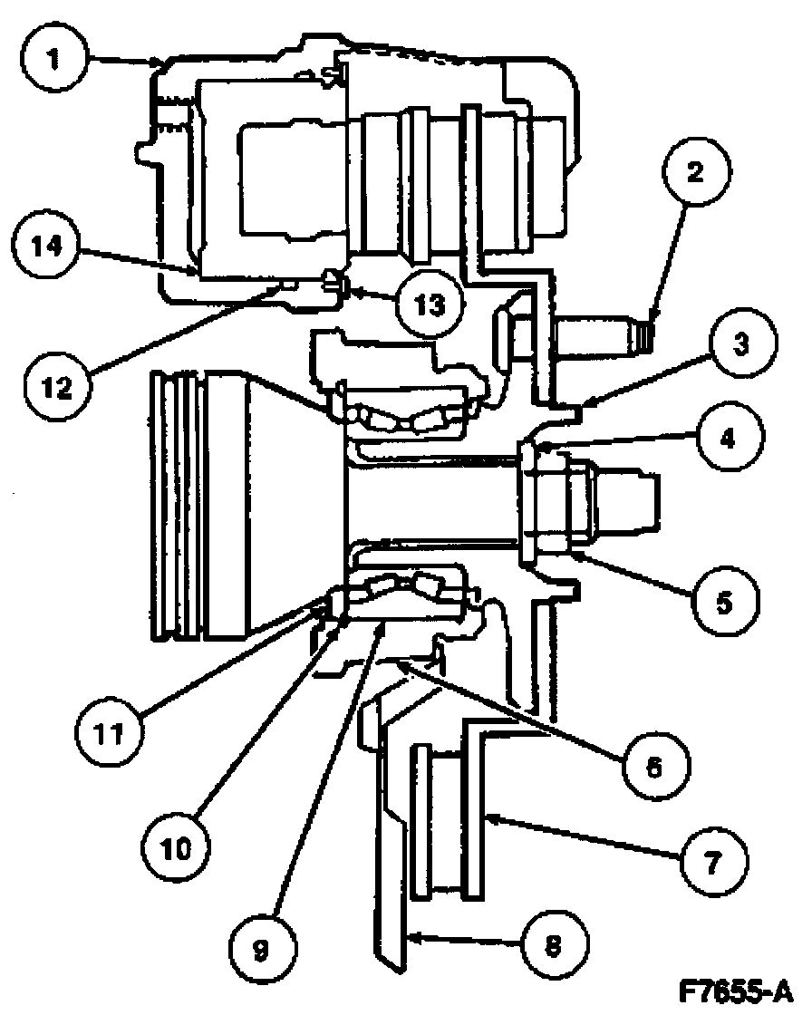
Front

Wheel Assembly:





Index: