lemon-mirror:
Home >> Ford >> 1992 >> Taurus V6-182 3.0L >> Repair and Diagnosis >> Diagrams >> Connector Views >> Ignition Control Module

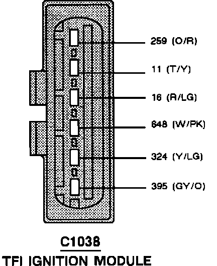
Ignition Control Module

Connector Faces/Pinout Charts:



Distributor Mounted TFI-IV Ignition Module: