lemon-mirror:
Home >> Ford >> 1991 >> Taurus V6-232 3.8L >> Repair and Diagnosis >> Diagrams >> Exploded Views >> Steering Column >> With Console Shift

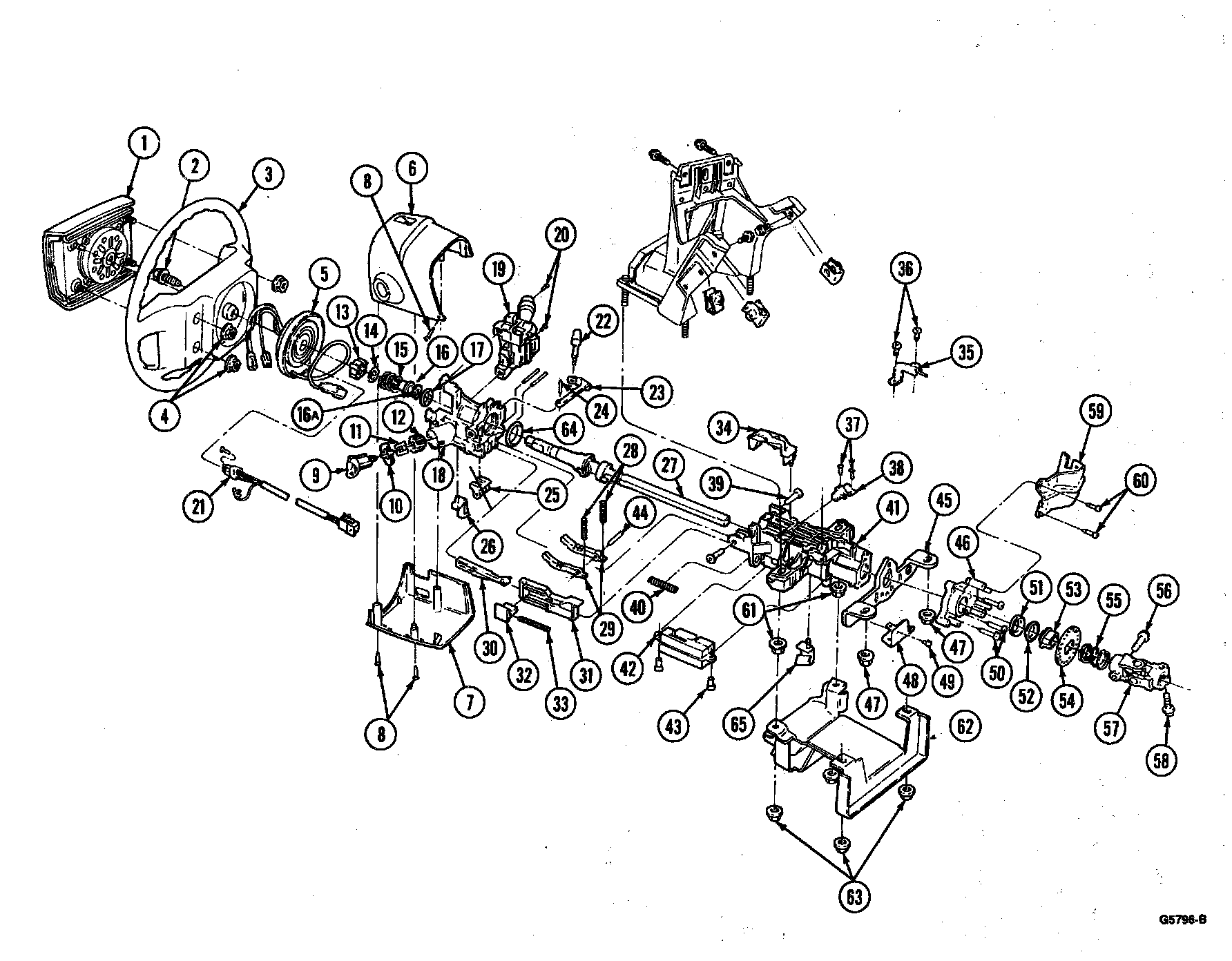
With Console Shift