lemon-mirror:
Home >> Ford >> 1990 >> Taurus V6-232 3.8L >> Repair and Diagnosis >> Heating and Air Conditioning >> Control Module HVAC >> Testing and Inspection

Control Module HVAC: Testing and Inspection

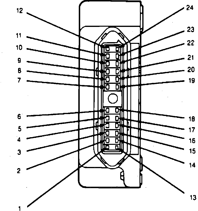
Fig. 10 IRCM Pin Location:





Diagnosis of blower speed requires a digital volt-ohmmeter. Refer to Fig. 10 for IRCM pin location.

Fig. 11 Blower Speed Controler Diagnosis - No Blower:





1. No blower, ignition in run position. Refer to Fig. 11.

Fig. 12 Blower Speed Controler Diagnosis - High Blower Only:





2. High blower only, blower switch in low position. Refer to Fig. 12.



Fig. 13 Blower Speed Controler Diagnosis - No Variation With Blower Switch:





3. Blower operates, no variation with blower control switch. Refer to Fig. 13.

Fig. 14 Blower Speed Controler Diagnosis - CELO Inoperative:





4. Cold engine lockout inoperative. Refer to Fig. 14.