lemon-mirror:
Home >> Eagle >> 1995 >> Vision V6-201 3.3L >> Repair and Diagnosis >> Body and Frame >> Locks >> Keyless Entry >> Service and Repair >> RKE System Testing >> RKE System

RKE System

REMOTE KEYLESS ENTRY SYSTEM TEST


When troubleshooting problems with the Remote Keyless Entry System, always verify that the power door lock/unlock switches are functional. If the doors do not lock/unlock with the power switches, the following modules should be analyzed:

^ Lock/Unlock Switches
^ Body Control Module
^ Lock and Unlock Relays
^ Door Lock/Unlock Motors

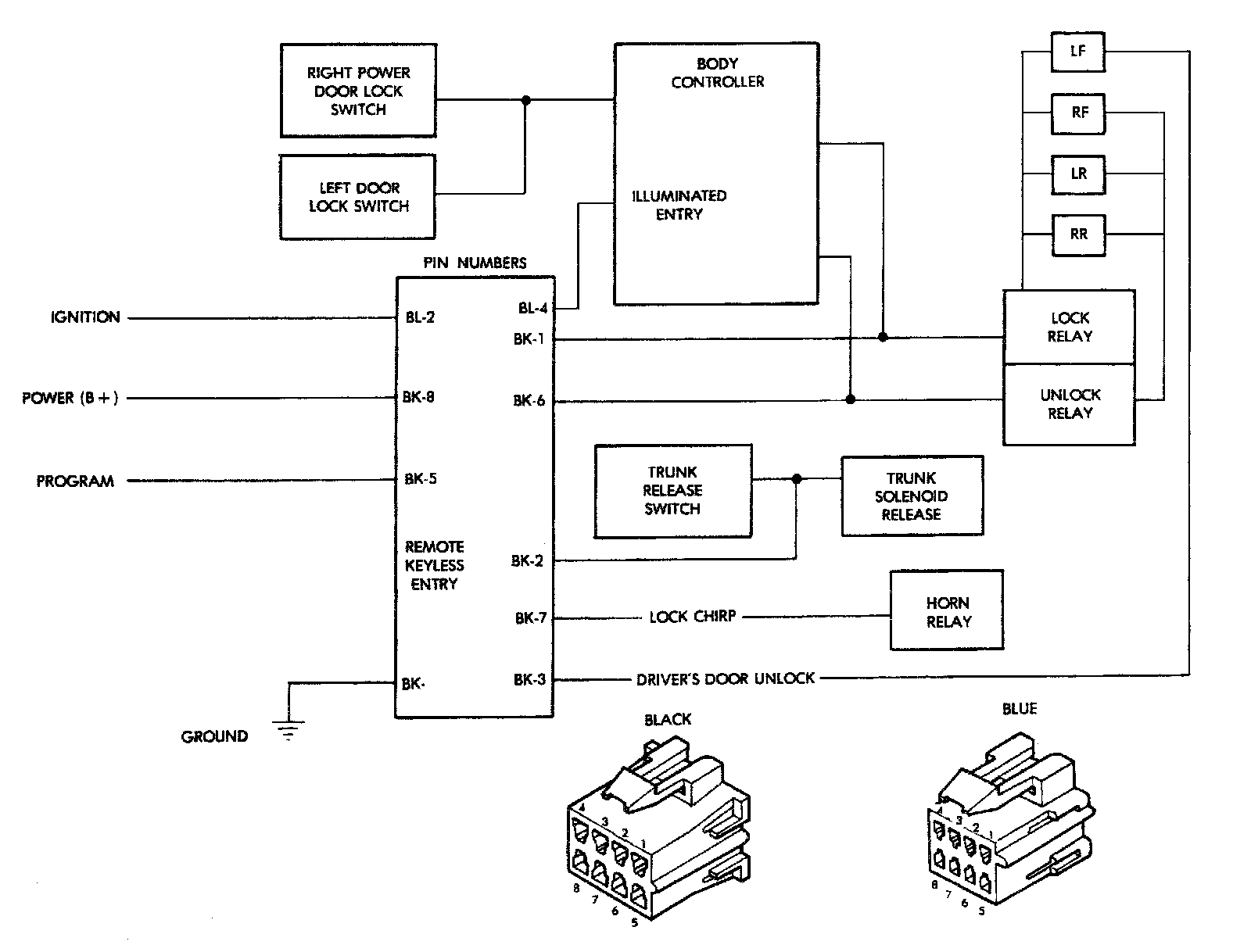
RKE Block Wiring Diagram:





Refer to Block Wiring Diagram.

If the following modules do not work:

^ Remote keyless entry system
^ Radio/clock
^ Body control module
^ Door lock switches

a blown fuse is the probable cause. The RKE battery circuit breaker is located in terminal 13, in the junction block. To check for a blown fuse, pull the fuse out slightly, but maintain contact between the fuse terminals and the terminals in fuse block. Using the voltmeter probe, check both terminals for 12 volts. If only one terminal measures battery voltage, the circuit breaker is defective and must be replaced. If neither terminal measures battery voltage, check for an open or shorted circuit to the junction box and repair as needed. If battery voltage is still not available, check the high current fuse J in the Power Distribution Center, located in the engine compartment.