lemon-mirror:
Home >> Dodge and Ram >> 2008 >> Sprinter 2500 V6-3.5L >> Repair and Diagnosis >> Diagrams >> Connector Views >> Engine Control Module

Engine Control Module




Component ID: 296
Component : MODULE-POWERTRAIN CONTROL

Connector:
Name : MODULE-POWERTRAIN CONTROL C1
Color : BLACK
# of pins : 58
Qualifier : (GAS)
Gender : FEMALE




Pin Circuit Description
1 - -
2 1677 14BR GROUND
3 U799 14BK/GY VOLTAGE SUPPLY 1 TERM.87
4 1678 14BR GROUND
5 U799 14BK/GY -
6 1679 14BR GROUND
7 - -
8 - -
9 3823 20BR/VT -
10 1663 20BR/YL APPS NO.1 SENSOR GROUND
11 1662 20BR/WT APPS NO.2 SENSOR GROUND
12 - -
13 - -
14 - -
15 1777 18BK -
16 1674 18RD/DG -
17 1776 18RD/WT -
18 - -
19 1685 18DB/BR RELAY-SECONDARY AIR PUMP 1
20 - -
21 - -
22 3825 20VT/RD -
23 U786 20RD/YL 5 VOLT SUPPLY
24 3824 20DG/VT -
25 - -
26 - -
27 1693 18BK/WT -
28 - -
29 20WT/GY
30 1564 20WT/DG -
31 293 18RD/BK -
32 - -
33 - -
34 - -
35 - -
36 - -
37 1664 20YL APPS NO.1 SIGNAL
38 - -
39 - -
40 - -
41 1681 20DG/WT CAN C BUS (+)
42 - -
43 - -
44 - -
45 1659 18OR -
46 - -
47 - -
48 - -
49 - -
50 1665 20WT APPS NO.2 SIGNAL
51 - -
52 - -
53 - -
54 1682 20DG CAN C BUS (-)
55 - -
56 - -
57 1658 18GY -
58 - -



Connector:
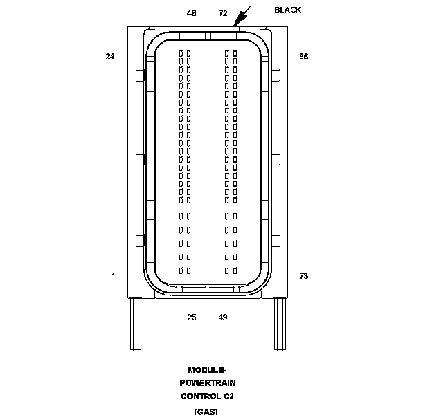
Name : MODULE-POWERTRAIN CONTROL C2
Color : BLACK
# of pins : 96
Qualifier : (GAS)




Pin Circuit Description
1 1610 18YL/DB CMP 1/1 CONTROL
2 - -
3 1575 18BK/GY INJECTOR 6 CONTROL
4 - -
5 - -
6 1579 18GY/BK COIL 1 CONTROL
7 1581 18GY/DB COIL 3 CONTROL
8 1580 18GY/BR COIL 2 CONTROL
9 - -
10 1605 20DG/BK CMP 1/2 SIGNAL
11 1618 20DG/RD O2 1/1 SIGNAL
12 1626 20DB/GY O2 2/1 PUMP CELL CURRENT TRIM
13 1648 20RD/WT O2 2/2 SIGNAL
14 1619 20DG O2 1/1 RETURN
15 U6101 20BR/DG SENSOR GROUND
16 U6102 18BR/DB SENSOR GROUND
17 1629 20YL/GY SENSOR GROUND
18 - -
19 272 20DG/GY MANIFOLD SWIRL CONTROL
20 - -
21 273 20YL/VT MANIFOLD FLOW CONTROL
22 1572 18DB INJECTOR 4 CONTROL
23 1566 18BK INJECTOR 1 CONTROL
24 1611 18YL/RD CMP 1/2 CONTROL
25 1651 18RD/DB O2 2/2 HEATER GROUND
26 1573 18BK/VT INJECTOR 5 CONTROL
27 1647 18RD/YL O2 1/2 HEATER GROUND
28 - -
29 - -
30 1582 18GY/DG COIL 4 CONTROL
31 1584 18GY/VT COIL 6 CONTROL
32 1583 18GY/YL COIL 5 CONTROL
33 - -
34 1606 20DG/PK CMP 2/2 SIGMAL
35 1623 20GY/RD O2 2/1 SIGNAL
36 1625 20WT/DB O2 2/1 PUMP CURRENT
37 1771 20VT/DG AIR PUMP FLOW SIGNAL
38 1624 20GY O2 2/1 RETURN
39 1642 20VT/GY TP SENSOR GROUND
40 U854 20BR/RD O2 RETURN
41 1644 20RD/DG O2 1/2 SIGNAL
42 1745 20WT/RD 5 VOLT SUPPLY
43 1643 20VT/YL 5 VOLT SUPPLY
44 U779 20PK/DB 5 VOLT SUPPLY
45 3925 18DB/RD LIN BUS
46 1772 20VT 5 VOLT SUPPLY
47 1569 18BK/YL INJECTOR 3 CONTROL
48 1612 18YL/DG CMP 2/1 CONTROL
49 1622 18RD/BK O2 1/1 HEATER CONTROL RETURN
50 - -
51 1568 18BK/WT INJECTOR 2 CONTROL
52 - -
53 1632 18GY/OR ELECTRIC AIR PUMP SWITCHOVER CONTROL
54 1617 20OR THERMOSTAT HEATER CONTROL
55 - -
56 1604 20DG/DB CMP 2/1 SIGNAL
57 1603 20DG/BR CMP 1/1 SIGNAL
58 1602 20PK/DG MANIFOLD SWIRL POSITION 2 SIGNAL
59 1636 20WT/DG KS 1 RETURN
60 1635 20WT/PK KS 2 RETURN
61 1621 20VT/WT O2 1/1 PUMP CELL CURRENT TRIM
62 - -
63 - -
64 1640 20BR/GY TP SIGNAL 2
65 - -
66 1600 20DG/YL ECT SIGNAL
67 1630 20YL/WT IAT SIGNAL
68 - -
69 1631 20YL/BR MAF SIGNAL
70 - -
71 - -
72 - -
73 1627 18RD/GY O2 2/1 HEATER CONTROL RETURN
74 1639 18BK/DB ETC MOTOR (-)
75 1638 18BK/RD ETC MOTOR (+)
76 - -
77 - -
78 - -
79 - -
80 1609 20DB/DG SENSOR GROUND
81 1607 20DG/WT CKP SIGNAL
82 1601 20DG/VT MANIFOLD SWIRL POSITION 1 SIGNAL
83 1637 20PK/VT KS 1 SIGNAL
84 1634 20PK KS 2 SIGNAL
85 1620 20WT/BR O2 1/1 PUMP CURRENT
86 1596 20VT/DB MAP SIGNAL
87 - -
88 1641 20BR/OR TP SIGNAL 1
89 - -
90 - -
91 - -
92 - -
93 496 20YL/PK 5 VOLT SUPPLY
94 1597 18DB/BR OIL LEVEL SIGNAL
95 1613 18YL/BK CMP 2/2 CONTROL
96 - OUTPUT-THROTTLE ACTUATOR