lemon-mirror:
Home >> Chrysler >> 2009 >> Sebring Convertible L4-2.4L >> Repair and Diagnosis >> Diagrams >> Connector Views >> Relay Box

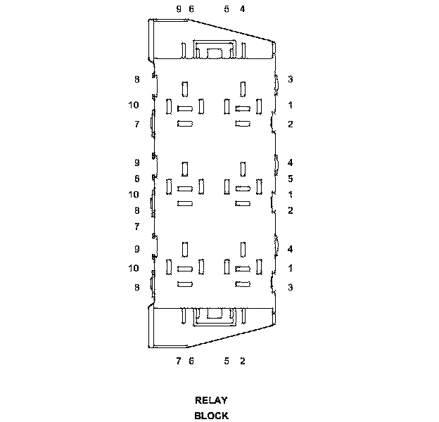
Relay Box






Connector - (HDLP_DASH) 20 WAY




RELAY BLOCK - (HDLP_DASH) 20 WAY