lemon-mirror:
Home >> Chrysler >> 2008 >> Pacifica V6-3.8L >> Repair and Diagnosis >> Diagrams >> Connector Views >> Power Distribution Module

Power Distribution Module




Component ID: 184
Component : MODULE-INTEGRATED POWER

Connector:
Name : MODULE-INTEGRATED POWER C1
Color : BLACK
# of pins : 15




Pin Circuit Description
1 A111 12DG/RD FUSED B(+) (VALVE)
2 - -
3 A109 18OR/RD FUSED B(+)
4 F500 18DG/PK FUSED RUN RELAY OUTPUT
5 T750 12YL/GY STARTER MOTOR RELAY OUTPUT
6 Z127 12BK/DG GROUND
7 - -
8 - -
9 - -
10 A107 12TN/RD FUSED B(+) (PUMP)
11 - -
12 F343 16PK/BR ASD RELAY OUTPUT
13 - -
14 C3 18DB/YL A/C COMPRESSOR CLUTCH RELAY OUTPUT
15 - -

Component Location - 1




Component Location - 2




Component Location - 5






Connector:
Name : MODULE-INTEGRATED POWER C2
Color : DK. GRAY
# of pins : 4




Pin Circuit Description
1 - -
2 - -
3 A101 12VT/RD FUSED B(+)
4 - -

Component Location - 1




Component Location - 2




Component Location - 5






Connector:
Name : MODULE-INTEGRATED POWER C3
Color : GRAY
# of pins : 2




Pin Circuit Description
1 - -
2 A112 12OR/RD FUSED B(+)

Component Location - 1




Component Location - 2




Component Location - 5






Connector:
Name : MODULE-INTEGRATED POWER C4
Color : GREEN
# of pins : 16




Pin Circuit Description
1 F100 20PK/VT ORC RUN DRIVER
2 X3 20DG/VT HORN SWITCH SENSE
3 W7 20BR/GY FRONT WIPER PARK SWITCH SENSE
4 T751 20YL IGNITION SWITCH OUTPUT (START)
5 F306 16DB/PK FUSED ACCESSORY RELAY OUTPUT
6 - -
7 F307 16LB/PK FUSED ACCESSORY RELAY OUTPUT
8 A214 18RD/LB FUSED B(+)
9 - -
10 - -
11 D25 20WT/VT PCI BUS
12 Z710 18GY/BK GROUND
13 A118 20RD/OR FUSED B(+)
14 A114 20GY/RD FUSED B(+)
15 L72 20WT/OR RIGHT TAIL LAMP DRIVER
16 A215 18RD/LG FUSED B(+)

Component Location - 1




Component Location - 2




Component Location - 5






Connector:
Name : MODULE-INTEGRATED POWER C5
Color : GRAY
# of pins : 26




Pin Circuit Description
1 A104 14YL/RD FUSED B(+)
2 L89 18WT/YL LEFT FRONT FOG LAMP DRIVER
3 W1 18BR/TN WASHER FLUID LEVEL SWITCH SENSE
4 - -
5 W10 18BR FRONT WASHER PUMP MOTOR CONTROL
6 L74 20WT/LB RIGHT FRONT SIDE MARKER LAMP DRIVER
7 L73 20WT/DB LEFT FRONT SIDE MARKER LAMP DRIVER
8 - -
9 - -
10 - -
11 - -
12 - -
13 W20 18BR/YL REAR WASHER PUMP MOTOR CONTROL
14 Z118 18BK/YL GROUND
15 - -
16 L44 16TN/WT RIGHT LOW BEAM LAMP DRIVER
17 L90 18WT/OR RIGHT FRONT FOG LAMP DRIVER
18 L33 18WT/DG LEFT HIGH BEAM LAMP DRIVER
19 - -
20 - -
21 - -
22 L34 16WT/GY RIGHT HIGH BEAM LAMP DRIVER
23 X2 16DG/OR HORN RELAY OUTPUT
24 L77 20WT/BR LEFT FRONT PARK LAMP DRIVER
25 L43 18WT/DB LEFT LOW BEAM LAMP DRIVER
26 L78 20OR/WT RIGHT FRONT PARK LAMP DRIVER

Component Location - 1




Component Location - 2




Component Location - 5






Connector:
Name : MODULE-INTEGRATED POWER C6
Color : GRAY
# of pins : 12




Pin Circuit Description
1 - -
2 F202 20PK/GY FUSED IGNITION SWITCH OUTPUT (RUN-START)
3 - -
4 C13 20LB/OR A/C CLUTCH RELAY CONTROL
5 - -
6 K51 18BR/GY ASD RELAY CONTROL
7 - -
8 - -
9 F1 20PK/WT IGNITION UNLOCK-RUN-START
10 - -
11 - -
12 - -

Component Location - 1




Component Location - 2




Component Location - 5






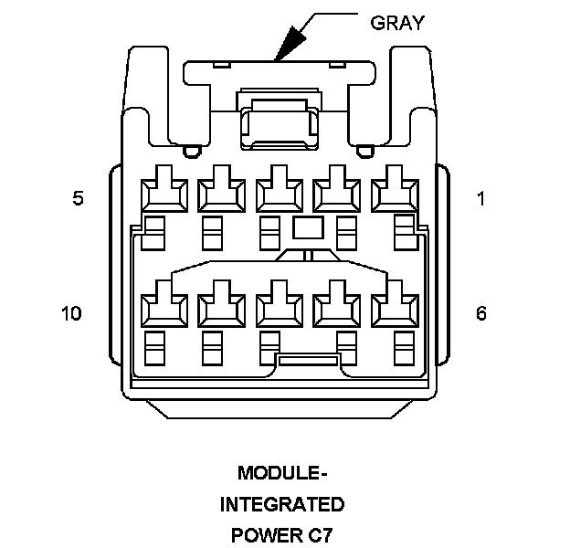
Connector:
Name : MODULE-INTEGRATED POWER C7
Color : GRAY
# of pins : 10




Pin Circuit Description
1 T751 20YL IGNITION SWITCH OUTPUT (START)
2 - -
3 T752 20DG/OR STARTER RELAY CONTROL
4 T15 18YL/BR TRANSMISSION CONTROL
5 - -
6 A923 18RD/LG FUSED B(+)
7 - -
8 Z115 18BK/OR GROUND
9 T16 16YL/OR TRANSMISSION CONTROL OUTPUT
10 K31 20BR FUEL PUMP RELAY CONTROL

Component Location - 1




Component Location - 2




Component Location - 5






Connector:
Name : MODULE-INTEGRATED POWER C8
Color : WHITE
# of pins : 15




Pin Circuit Description
1 F516 12PK FUSED DOOR NODE RELAY OUTPUT
2 C51 18LB/BR FUSED REAR BOOSTER FAN RELAY OUTPUT
3 W4 12BR/OR FRONT WIPER HIGH/LOW RELAY HIGH SPEED OUTPUT
4 F316 20PK/OR FUSED ACCESSORY RELAY OUTPUT
5 A916 12RD/VT FUSED B(+)
6 - -
7 F504 20GY/PK FUSED RUN RELAY OUTPUT
8 B20 20DG/OR BRAKE FLUID LEVEL SWITCH SENSE
9 W3 12BR/WT FRONT WIPER HIGH/LOW RELAY LOW SPEED OUTPUT
10 A130 12VT/RD FUSED B(+)
11 C15 12DB/WT REAR WINDOW DEFOGGER RELAY OUTPUT
12 - -
13 A116 16YL/RD FUSED B(+)
14 - -
15 A110 12DG/RD FUSED B(+)

Component Location - 1




Component Location - 2




Component Location - 5






Connector:
Name : MODULE-INTEGRATED POWER C9
Color : BLUE
# of pins : 26




Pin Circuit Description
1 A115 12YL/RD FUSED B(+)
2 A106 20LB/RD FUSED B(+)
3 A108 18LG/RD FUSED B(+)
4 - -
5 D123 20WT/BR FLASH PROGRAM ENABLE
6 - -
7 L71 20WT/GY LEFT TAIL LAMP DRIVER
8 C7 12DB FUSED FRONT BLOWER MOTOR RELAY OUTPUT
9 - -
10 A701 18BR/RD FUSED B(+)
11 - -
12 - -
13 F20 20PK/GY FUSED IGNITION SWITCH OUTPUT (RUN-START)
14 - -
15 - -
16 F201 20PK/LB ORC RUN-START DRIVER
17 - -
18 - -
19 F2 18PK/YL IGNITION SWITCH OUTPUT (RUN-START)
20 L51 18WT/DG BRAKE LAMP SWITCH OUTPUT
21 - -
22 - -
23 L3 18WT/VT LICENSE LAMP DRIVER
24 N1 16DB/OR FUEL PUMP RELAY OUTPUT
25 A105 18DB/RD FUSED B(+)
26 F525 16TN/PK FUSED RUN RELAY OUTPUT

Component Location - 1




Component Location - 2




Component Location - 5






Connector:
Name : MODULE-INTEGRATED POWER-EYELET
Color :
# of pins : 1




Pin Circuit Description
1 A1 4RD FUSED B(+)

Component Location - 1




Component Location - 2




Component Location - 5