lemon-mirror:
Home >> Chrysler >> 2008 >> PT Cruiser L4-2.4L >> Repair and Diagnosis >> Diagrams >> Connector Views >> Electronic Brake Control Module

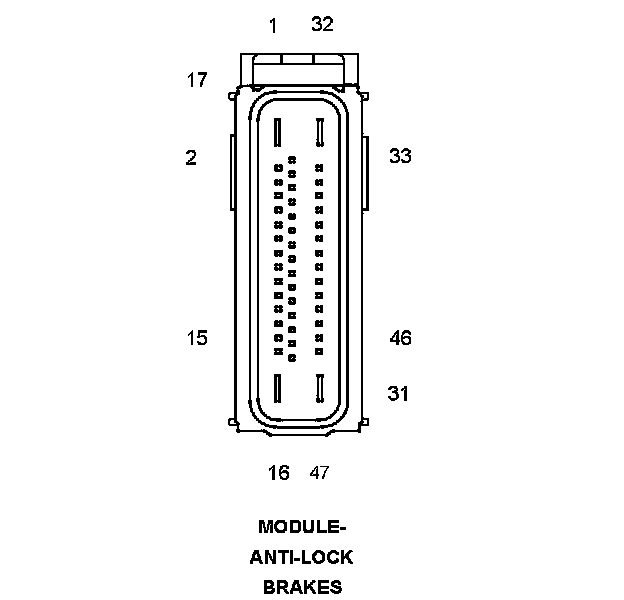
Electronic Brake Control Module




Component ID: 159
Component : MODULE-ANTI-LOCK BRAKES

Connector:
Name : MODULE-ANTI-LOCK BRAKES
Color :
# of pins : 47
Gender : FEMALE




Pin Circuit Description
1 A921 12RD FUSED B(+) (PUMP)
2 - -
3 - -
4 - -
5 - -
6 L53 18DG/WT PRIMARY BRAKE SWITCH SIGNAL
6 L53 18DG/WT BRAKE LAMP SWITCH OUTPUT
7 - -
8 F20 20PK/WT IGNITION SWITCH OUTPUT (RUN-START)
9 - -
10 - -
11 - -
12 D65 20WT/LG CAN C BUS (+)
13 D64 20WT/LB CAN C BUS (-)
14 - -
15 - -
16 Z902 12BK GROUND
17 - -
18 - -
19 - -
20 - -
21 - -
22 - -
23 - -
24 - -
25 - -
26 - -
27 - -
28 - -
29 - -
30 - -
31 - -
32 A922 12RD FUSED B(+) (VALVE)
33 B6 20WT/DB RIGHT FRONT WHEEL SPEED SENSOR SIGNAL
34 B7 20WT RIGHT FRONT WHEEL SPEED SENSOR 12 VOLT SUPPLY
35 - -
36 B4 20LG LEFT REAR WHEEL SPEED SENSOR 12 VOLT SUPPLY
37 B3 20LG/DB LEFT REAR WHEEL SPEED SENSOR SIGNAL
38 - -
39 - -
40 - -
41 - -
42 B1 20YL/DB RIGHT REAR WHEEL SPEED SENSOR SIGNAL
43 B2 20YL RIGHT REAR WHEEL SPEED SENSOR 12 VOLT SUPPLY
44 - -
45 B9 20RD LEFT FRONT WHEEL SPEED SENSOR 12 VOLT SUPPLY
46 B8 20RD/DB LEFT FRONT WHEEL SPEED SENSOR SIGNAL
47 Z902 12BK GROUND

Component Location - 1




Component Location - 3




Component Location - 10




Component Location - 13