lemon-mirror:
Home >> Chrysler >> 2007 >> Sebring Sedan L4-2.4L >> Repair and Diagnosis >> Powertrain Management >> Computers and Control Systems >> Engine Control Module >> Diagrams >> Diagram Information and Instructions >> Service Procedures >> Wire Splicing

Wire Splicing






STANDARD PROCEDURE - WIRE SPLICING

When splicing a wire, it is important that the correct gage be used as shown in the wiring diagrams.




1. Remove one-half (1/2) inch of insulation from each wire that needs to be spliced.

2. Place a piece of adhesive lined heat shrink tubing on one side of the wire. Make sure the tubing will be long enough to cover and seal the entire repair area.

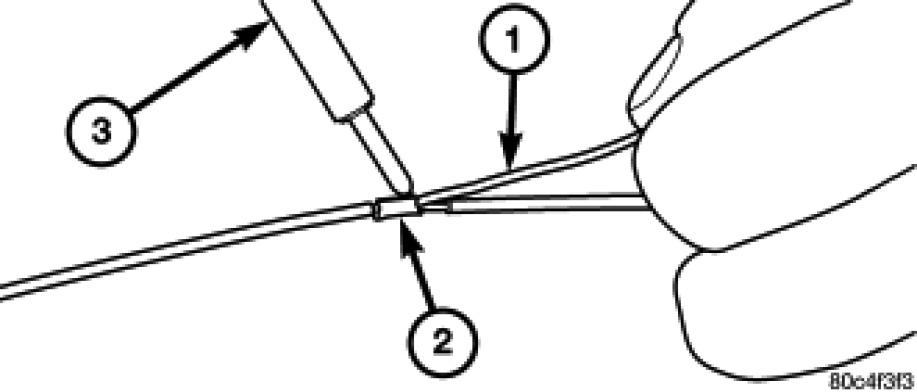
3. Place the strands of wire overlapping each other inside of the splice clip (1).




4. Using crimping tool (1), Mopar p/n 05019912AA, crimp the splice clip and wires together.




5. Solder (3) the connection (2) together using rosin core type solder (1) only.

CAUTION: DO NOT USE ACID CORE SOLDER.




6. Center the heat shrink tubing (2) over the joint and heat using a heat gun. Heat the joint until the tubing is tightly sealed and sealant (1) comes out of both ends of the tubing.