lemon-mirror:
Home >> Chrysler >> 2007 >> Sebring Sedan L4-2.4L >> Repair and Diagnosis >> Maintenance >> Alignment >> Description and Operation

Alignment: Description and Operation






DESCRIPTION

Vehicle wheel alignment is the positioning of all interrelated front and rear suspension angles. These angles affect the handling and steering of the vehicle when it is in motion. Proper wheel alignment is essential for efficient steering, good directional stability, and proper tire wear.


The method of checking a vehicle's front and rear wheel alignment varies depending on the manufacturer and type of equipment used. The manufacturer's instructions should always be followed to ensure accuracy of the alignment, except when DaimlerChrysler Corporation's wheel alignment specifications differ.


On this vehicle, the suspension angles that can be adjusted are as follows:


Front

- Camber (with cradle shift or service adjustment bolt package)
- Caster (limited adjustment with cradle shift)
- Toe

Rear

- Toe

Check the wheel alignment and make all wheel alignment adjustments with the vehicle standing at its proper curb height specification. Curb height is the normal riding height of the vehicle. It is measured from a certain point on the vehicle to the ground or a designated area while the vehicle is sitting on a flat, level surface. Refer to Curb Height Measurement.


Typical wheel alignment angles and measurements are described in the following paragraphs.


CAMBER






Camber is the inward or outward tilt of the top of the tire and wheel assembly. Inward tilt (2) is known as negative camber. Outward tilt (1) is known as positive camber. Camber is measured in degrees of angle relative to a true vertical line. Camber is a tire wearing angle.

- Excessive negative camber will cause tread wear at the inside of the tire.
- Excessive positive camber will cause tread wear on the outside of the tire.

CROSS CAMBER


Cross camber is the difference between left and right camber. To achieve the cross camber reading, subtract the right side camber reading from the left. For example, if the left camber is -0.7� and the right camber is -0.5�, the cross camber would be -0.2� (-0.7 - (-0.5) = -0.7 + 0.5 = -0.2).


CASTER






Caster is the forward or rearward tilt of the steering knuckle in reference to the position of the upper and lower ball joints. Caster is measured in degrees of angle relative to a true vertical center line. This line is viewed from the side of the tire and wheel assembly.

- Forward tilt (upper ball joint ahead of lower) results in a negative caster angle.
- Rearward tilt (upper ball joint trailing lower) results in a positive caster angle.

Although caster does not affect tire wear, a caster imbalance between the two front wheels may cause the vehicle to lead to the side with the least positive caster.


CROSS CASTER


Cross caster is the difference between left and right caster. To achieve the cross caster reading, subtract the right side caster reading from the left. For example, if the left caster is 2.5� and the right caster is 2.7�, the cross caster would be -0.2� (2.5 - 2.7 = -0.2).


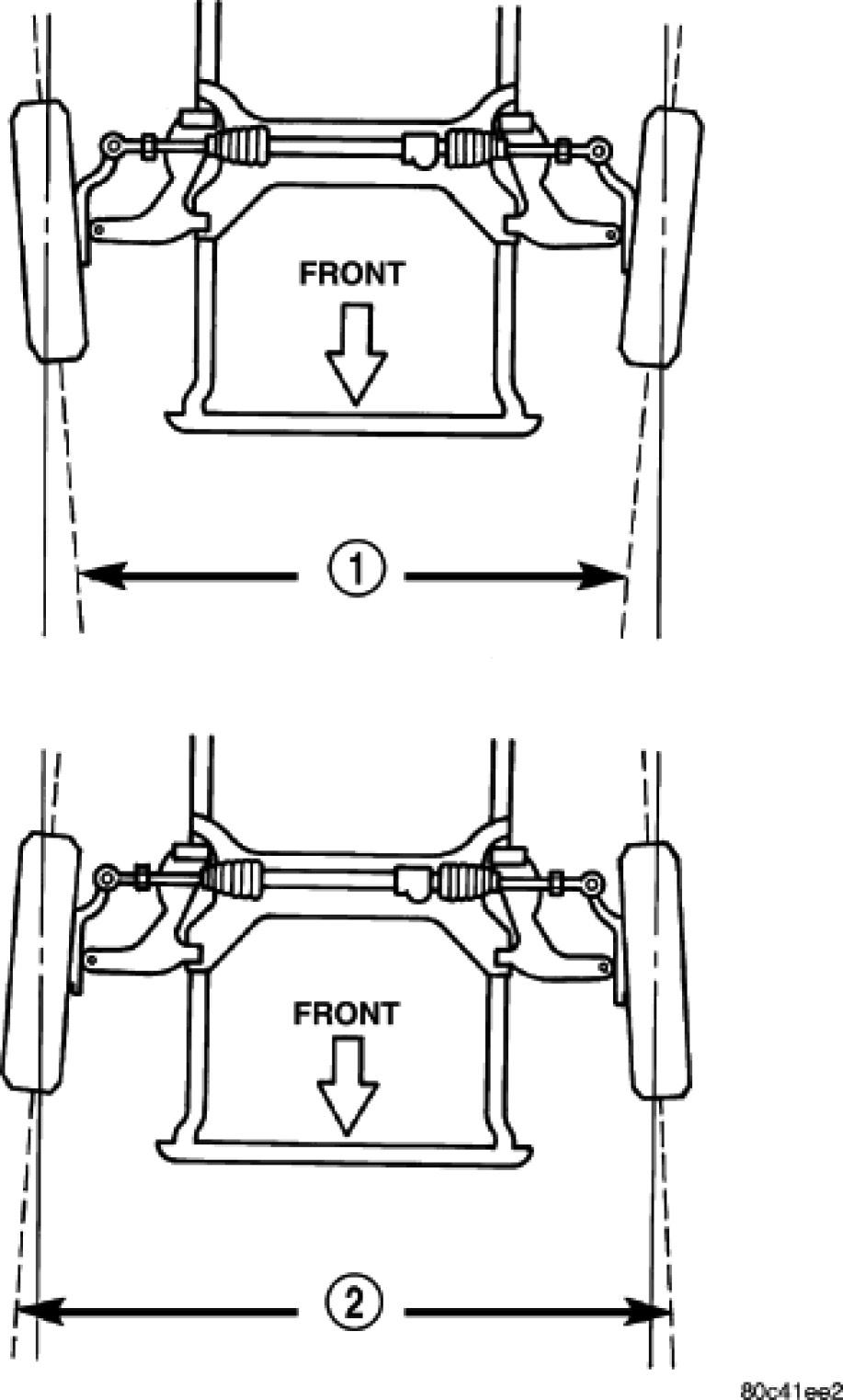
TOE






Toe is the inward or outward angle of the wheels as viewed from above the vehicle.

- Toe-in (1) is produced when the front edges of the wheels on the same axle are closer together than the rear edges.
- Toe-out (2) is produced when the front edges of the wheels on the same axle are farther apart than the rear edges.

Toe-in and toe-out can occur at the front wheels and the rear wheels.


Toe is measured in degrees or inches. The measurement identifies the amount that the front of the wheels point inward (toe-in) or outward (toe-out). Toe is measured at the spindle height. Zero toe means the front and rear edges of the wheels on the same axle are equal distant.


TOE-OUT ON TURNS






Toe-out on turns (1), sometimes referred to as Ackerman Steering, is the relative positioning of the front wheels while steering through a turn. This compensates for each front wheel's turning radius. As the vehicle encounters a turn, the outboard wheel must travel in a larger radius circle than the inboard wheel. The steering system is designed to make each wheel follow its particular radius circle. To accomplish this, the front wheels must progressively toe outward as the steering is turned from center. This eliminates tire scrubbing and undue tire wear when steering a vehicle through a turn.


DYNAMIC TOE PATTERN


Dynamic toe pattern is the inward and outward toe movement of the front and rear tires through the suspension's jounce and rebound travel. As the vehicle's suspension moves up and down, the toe pattern varies. Toe pattern is critical in controlling the directional stability of the vehicle while in motion. Front and rear dynamic toe pattern is preset by the factory at the time the vehicle is assembled.


It is not necessary to check or adjust front or rear dynamic toe pattern when doing a normal wheel alignment. The only time dynamic toe pattern needs to be checked or adjusted is if the frame of the vehicle has been damaged.


STEERING AXIS INCLINATION (S.A.I.)






Steering axis inclination (1) is the angle between a true vertical line starting at the center of the tire at the road contact point and a line drawn through the center of the upper ball joint (or strut) and the lower ball joint. S.A.I. is built into the vehicle and is not an adjustable angle. If S.A.I. is not within specifications, a bent or damaged suspension component may be the cause.


INCLUDED ANGLE (I.A.)


Included angle (3) is the sum of the S.A.I. angle (1) plus or minus the camber angle (2), depending on whether or not the wheel has positive or negative camber. If camber is positive, add the camber angle to the S.A.I angle. If camber is negative, subtract the camber angle from the S.A.I. angle. Included angle is not adjustable, but can be used to diagnose a frame misalignment or bent suspension component (spindle, strut).


THRUST ANGLE






Thrust angle is the averaged direction the rear wheels are pointing in relation to the vehicle's center line. The presence of negative or positive thrust angle causes the rear tires to track improperly to the left or right of the front tires (dog tracking).

- Negative thrust angle means the rear tires are tracking to the left of the front tires.
- Positive thrust angle means the rear tires are tracking to the right of the front tires.

Improper tracking can cause undue tire wear, a lead or pull and a crooked steering wheel. Excessive thrust angle can usually be corrected by adjusting the rear wheel toe so that each wheel has one-half of the total toe measurement.