lemon-mirror:
Home >> Chrysler >> 2007 >> Sebring Sedan L4-2.4L >> Repair and Diagnosis >> Body and Frame >> Locks >> Keyless Entry >> Keyless Entry Module >> Description and Operation >> Description

Description






DESCRIPTION





The Sentry Key Remote Entry Module (SKREEM) (3), sometimes referred to as the Wireless Control Module (WCM), performs the functions of what used to be the Sentry Key Immobilizer Module (SKIM), the Remote Keyless Entry (RKE) Module, and the Tire Pressure Monitoring (TPM) System.





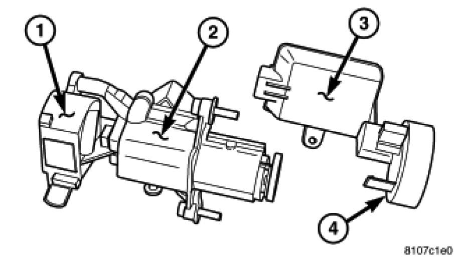
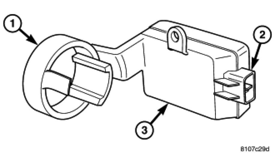
The SKREEM/WCM is located on and around (antenna ring) (4) the ignition key cylinder (2) along with the ignition switch (1). It is accessible only from behind the instrument panel, to the left of the steering column. Serviceability requires lock cylinder removal to access the complete unit.

SENTRY KEY REMOTE ENTRY SYSTEM (SKREES)

The Sentry Key REmote Entry System (SKREES), sometimes referred to as the Sentry Key Immobilizer System (SKIS), authenticates an electronically coded Transponder Key placed into the ignition and sends a valid/invalid key message to the Powertrain Control Module (PCM) based upon the results. The "VALID/INVALID KEY" message communication is performed using a rolling code algorithm via the Programmable Controller Area Network (CAN) data bus. A "VALID KEY" message must be sent to the Powertrain Control Module (PCM) within two seconds of ignition ON to free the engine from immobilization.

REMOTE KEYLESS ENTRY (RKE)

The RKE transmitter uses radio frequency signals to communicate with the SKREEM/WCM. The SKREEM/WCM is on the Controller Area Network (CAN) data bus network. When the operator presses a button on the transmitter, it sends a specific request to the SKREEM/WCM. In turn the SKREEM/WCM sends the appropriate request over the CAN bus to the Integrated Power Module (IPM) to activate the park lamps, the headlamps, and the horn for horn chirp.

TIRE PRESSURE MONITORING (TPM)

If equipped with the Tire Pressure Monitoring (TPM) System, each of the vehicles four wheels will have a valve stem with a pressure sensor and radio transmitter built in. Signals from the tire pressure sensor/transmitter are received and interpreted by the SKREEM/WCM.

A sensor/transmitter in a mounted wheel will broadcast its detected pressure once per minute when the vehicle is moving faster than 15 mph (24 km/h). Each sensor/transmitter's broadcast is uniquely coded so that the SKREEM/WCM can determine the location.