lemon-mirror:
Home >> Chrysler >> 2007 >> Crossfire V6-3.2L VIN L >> Repair and Diagnosis >> Body and Frame >> Body Control Systems >> Body Control Module >> Locations

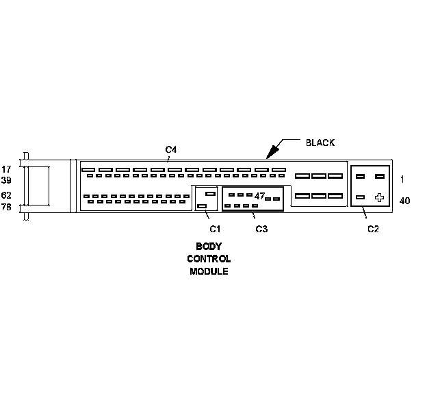
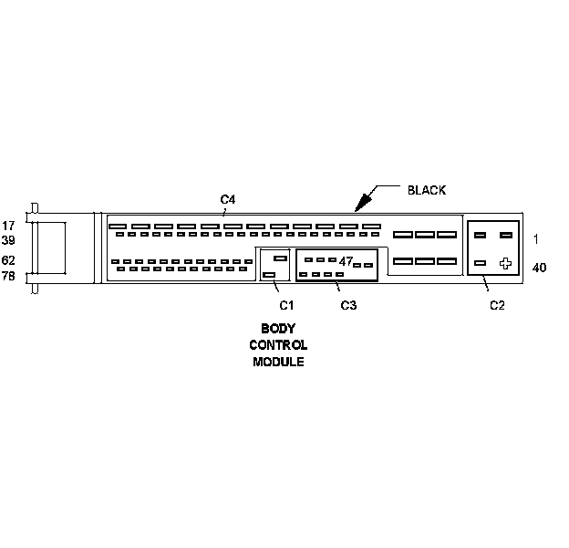
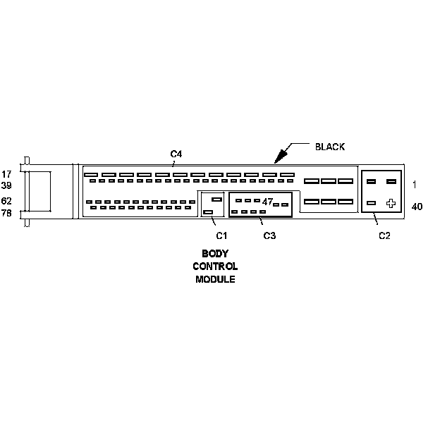
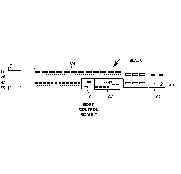
Body Control Module: Locations




Component ID: 18
Component : BODY CONTROL MODULE

Connector:
Name : BODY CONTROL MODULE C1
Color : BLACK
# of pins : 2




50 12 VOLT SUPPLY 20RD
67 CONTROL MODULE COOLING FAN CONTROL 20BR

Component Location - 1




Component Location - 4






Connector:
Name : BODY CONTROL MODULE C2
Color : BLACK
# of pins : 4




Pin Description Circuit
1 WIPER LOW SPEED CONTROL 14RD
2 WIPER HIGH SPEED CONTROL 14DG
40 WIPER PARK SWITCH SENSE 14WT
41 12 VOLT SUPPLY 14BK

Component Location - 1




Component Location - 4






Connector:
Name : BODY CONTROL MODULE C3
Color : BLACK
# of pins : 9




45 TURN SIGNAL MONITORED GROUND 16BK/BL
46 HAZARD SWITCH SIGNAL 16BK/YL
47 REAR DEFOGGER SWITCH SENSE 22DG/BL
48 REAR DEFOGGER INDICATOR DRIVER 22DG/BK
49 DOOR LOCK SWITCH MUX 20WT/DG
63 WASHER PUMP MOTOR CONTROL 16GY
64 - -
65 WIPER SWITCH MUX 18BL
66 - -

Component Location - 1




Component Location - 4






Connector:
Name : BODY CONTROL MODULE C4
Color : BLACK
# of pins : 63




3 FUSED IGNITION SWITCH OUTPUT 12PK/YL/DG
4 FUSED B(+) 14RD/WT
5 GROUND 12BR
6 - -
7 - -
8 - -
9 - -
10 RIGHT FRONT POWER WINDOW DRIVER (DOWN) 14BK/WT
11 RIGHT FRONT POWER WINDOW DRIVER (UP) 14DG/WT
12 LEFT FRONT POWER WINDOW DRIVER (DOWN) 14BK
13 LEFT FRONT POWER WINDOW DRIVER (UP) 14DG
14 REAR SPOILER DRIVER (UP) 16BR/WT
15 REAR SPOILER DRIVER (DOWN) 16RD/WT
16 - -
17 - -
18 DOME LAMP CONTROL 18BL/BR
19 - -
20 - -
21 INSTRUMENT CLUSTER WAKE UP SIGNAL 20BK/VT
22 - -
23 - -
24 - -
25 - -
26 - -
27 - -
28 SPOILER LIMIT SWITCH SIGNAL (UP) 20BR/GY
29 SPOILER LIMIT SWITCH SIGNAL (DOWN) 20BR/YL
30 ESP OFF SIGNAL 20BK/DG
31 - -
32 - -
33 - -
34 SCI TRANSMIT 20BK/WT
35 - -
36 - -
37 - -
38 RIGHT POWER WINDOW SWITCH SENSE 20WT/BL
39 LEFT POWER WINDOW SWITCH SENSE 20DG/YL
42 GROUND 14BR
43 GROUND 14BR
44 FUSED B(+) 12RD/YL
51 - -
52 - -
53 - -
54 - -
55 DOOR UNLOCK SWITCH SENSE 22GY/BK
56 WHEEL SPEED SENSOR OUTPUT 20BL/DG
57 DOOR LOCK SWITCH SENSE 22BK/RD
58 FUSED IGNITION SWITCH OUTPUT 18PK/RD/BK
59 RKE STATUS OUTPUT 22GY/RD
60 - -
61 GROUND 16BR
62 CAN B BUS (-) 20DG
62 CAN B BUS (-) 22DG
68 REAR SPOILER DIAGNOSTIC LED CONTROL 20GY/WT
69 - -
70 - -
71 REAR SPOILER SWITCH SENSE 20DG/WT
72 - -
73 - -
74 WHEEL SPEED SENSOR OUTPUT 20DG/WT
75 FUSED B(+) 20RD/GY
76 - -
77 GROUND 20BR
78 CAN B BUS (+) 20WT
78 CAN B BUS (+) 22WT

Component Location - 1




Component Location - 4