lemon-mirror:
Home >> Chrysler >> 2006 >> Sebring Convertible L4-2.4L VIN X >> Repair and Diagnosis >> Powertrain Management >> Computers and Control Systems >> Body Control Module >> Locations >> Component Locations

Component Locations

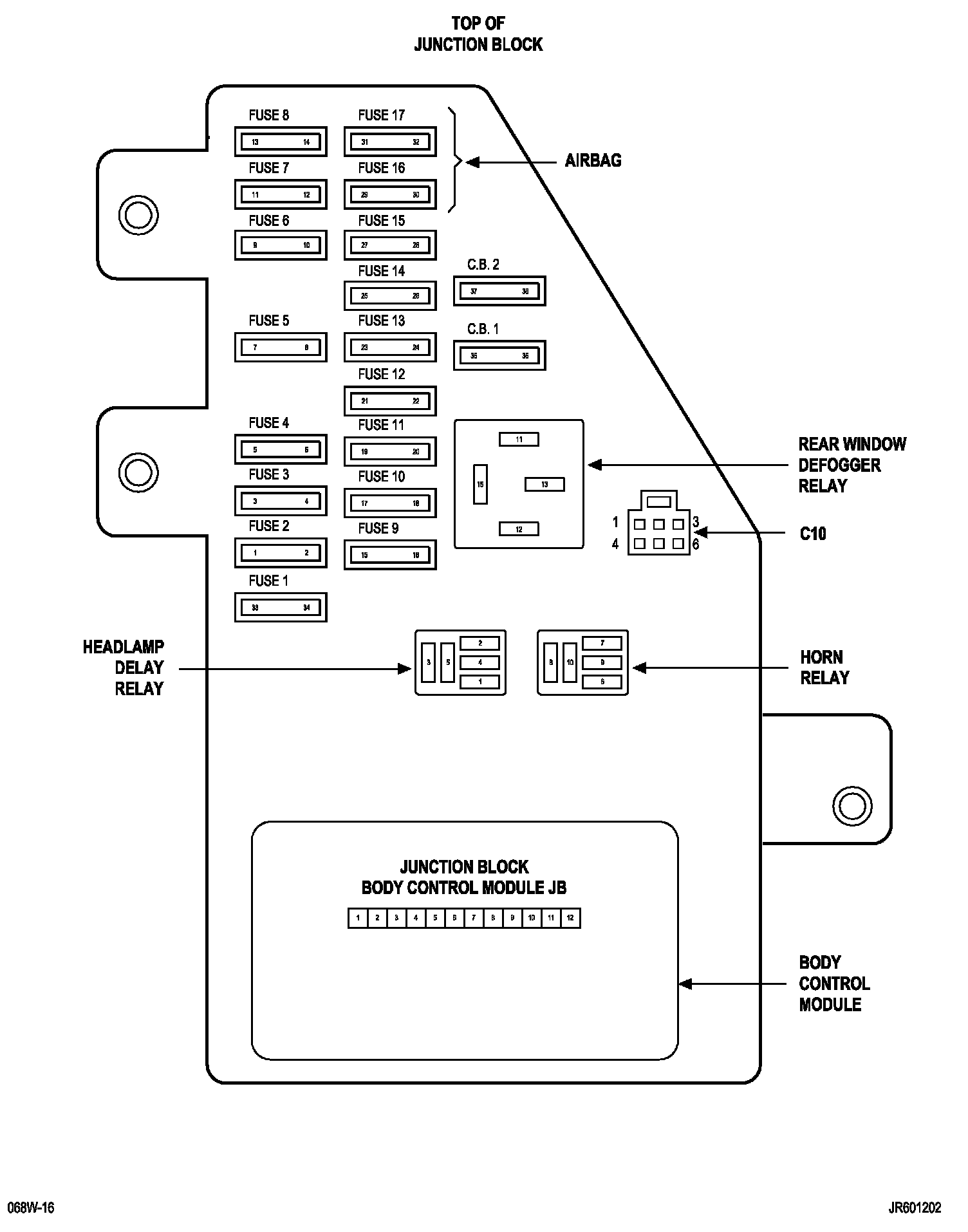
Top Of Junction Block: