lemon-mirror:
Home >> Chrysler >> 2005 >> Crossfire V6-3.2L VIN L >> Repair and Diagnosis >> Powertrain Management >> Transmission Control Systems >> Testing and Inspection >> Internal Controller

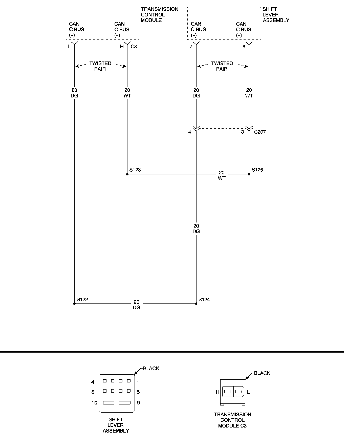
Internal Controller

INTERNAL CONTROLLER





POSSIBLE CAUSES
- SHIFT LEVER ASSEMBLY

Diagnostic Test
1. SLA- INTERNAL ERROR
The Shift Lever Assembly is reporting internal errors.
View repair.
Repair >> Replace the Shift Lever Assembly.
Perform NAG1 TRANSMISSION VERIFICATION TEST. Verification Tests