lemon-mirror:
Home >> Chrysler >> 2004 >> PT Cruiser L4-2.4L VIN B >> Repair and Diagnosis >> Powertrain Management >> Computers and Control Systems >> Body Control Module >> Diagrams >> Electrical Diagrams

Electrical Diagrams

Airag System (Base System):





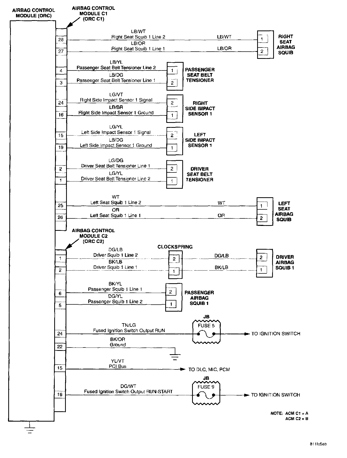
Airbag System (Premium System):





Audio System:





Satellite Digital Audio Receiver System (SDARS):





Satellite Audio Receiver System (SDARS) Equipped With Hands Free Module (HFM):





Communication:





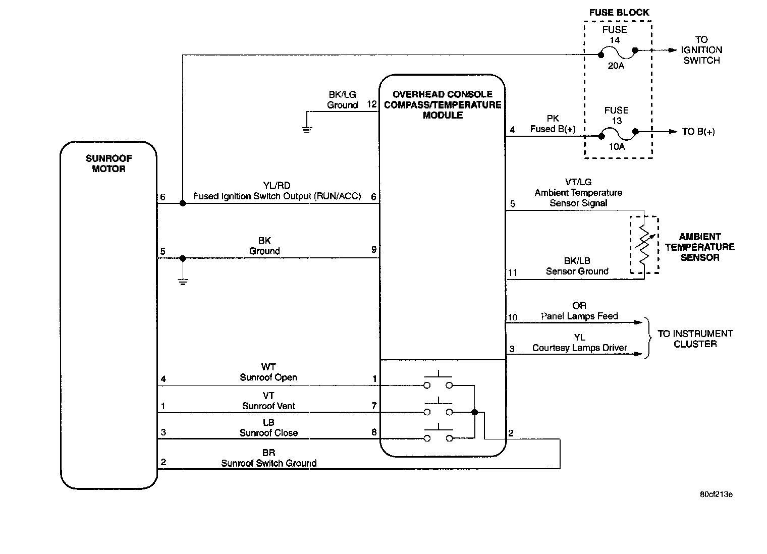
Compass/Temperature Module:





Instrument Cluster:





Interior Lighting:





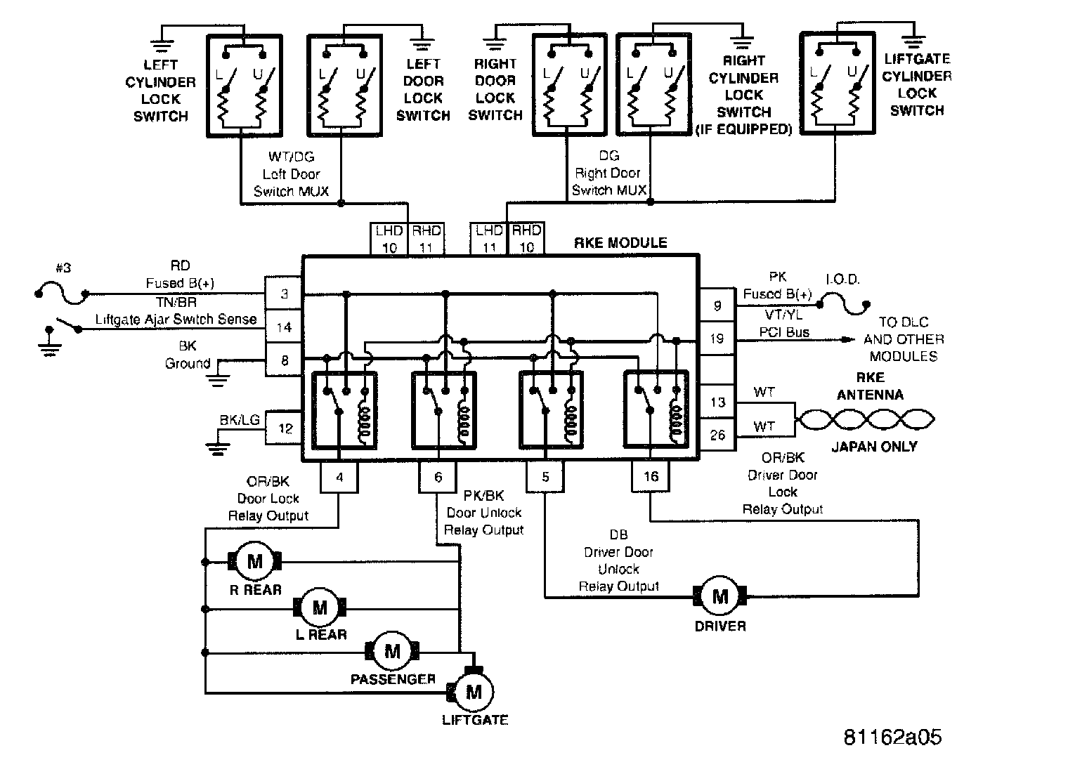
Power Door Locks:





Vehicle Theft Security System:





Telecommunications - Hands Free Module (HFM):