lemon-mirror:
Home >> Chrysler >> 2003 >> PT Cruiser L4-2.4L VIN B >> Repair and Diagnosis >> Powertrain Management >> Computers and Control Systems >> Body Control Module >> Diagrams >> Electrical Diagrams

Electrical Diagrams

Airbag System - Base System:




Airbag System - Premium System:




Audio System:




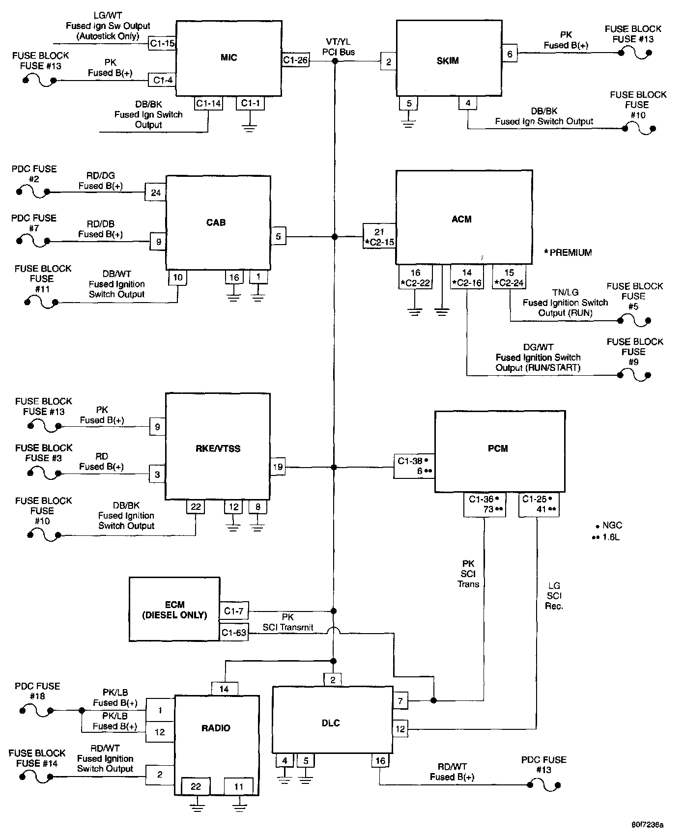
Communication:




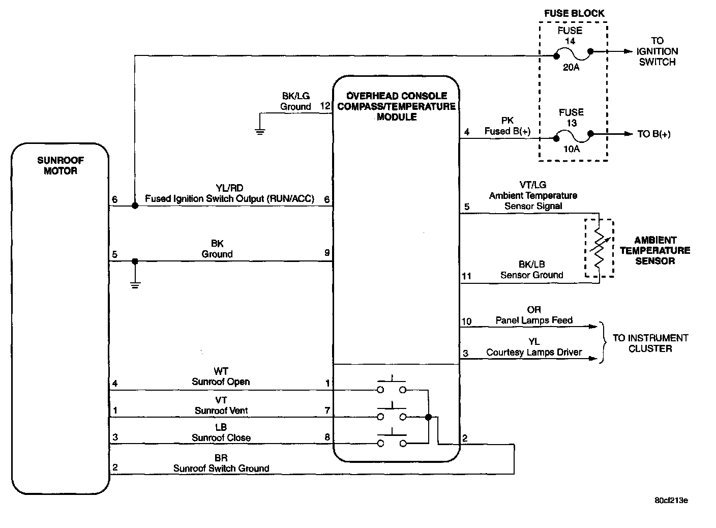
Compass/Temperature Module:




Instrument Cluster:




Interior Lighting:




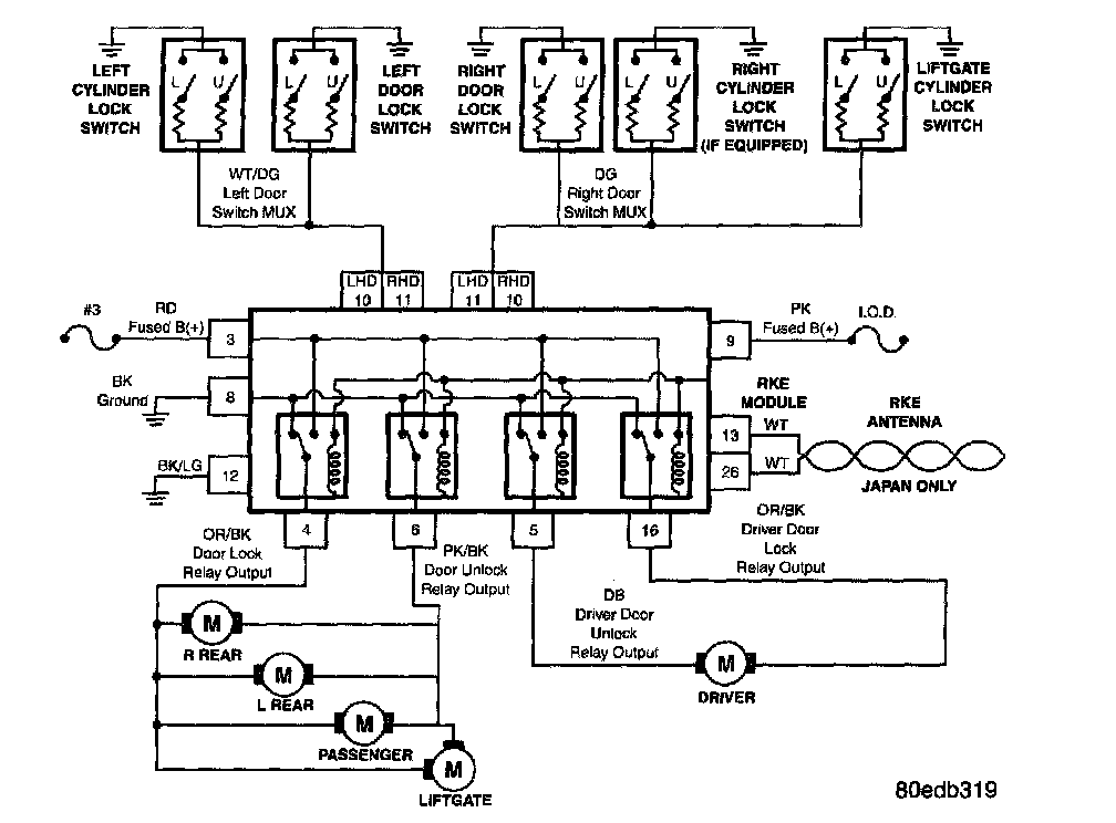
Power Door Locks:




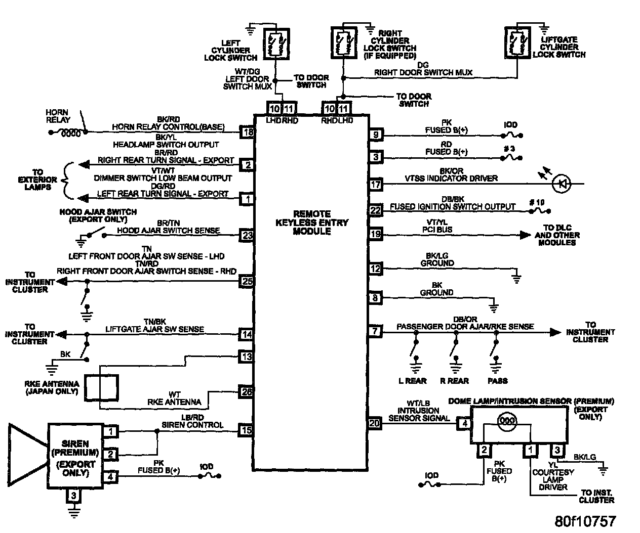
Vehicle Theft Security System: