lemon-mirror:
Home >> Chrysler >> 2002 >> Prowler V6-3.5L VIN G >> Repair and Diagnosis >> Diagrams >> Electrical Diagrams >> Powertrain Management >> Computers and Control Systems >> Body Control Module >> System Schematic

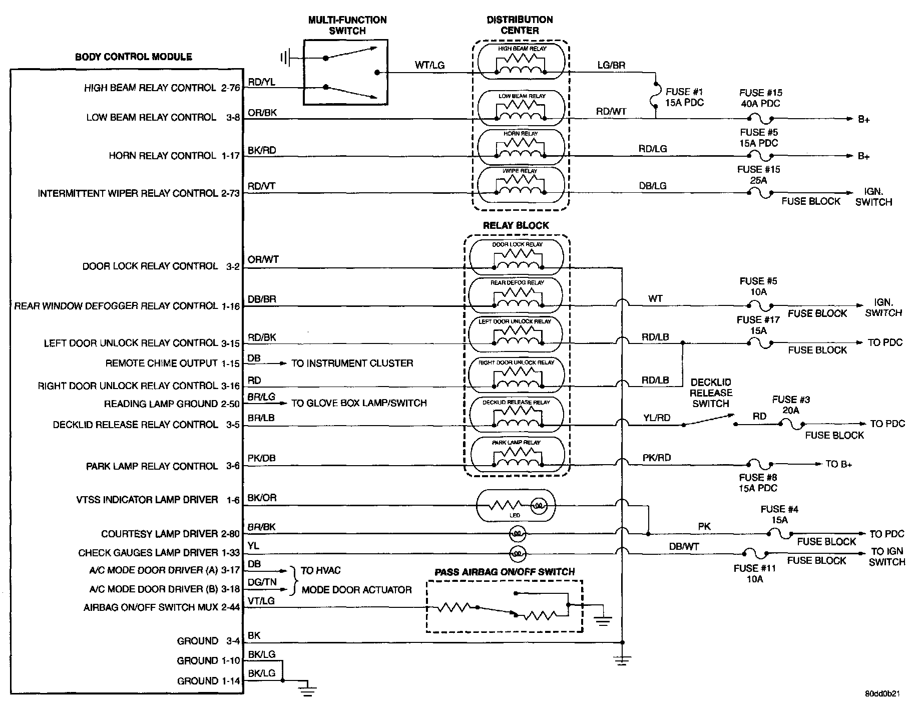
System Schematic

Body Control Module - Part 1 Of 2:



Body Control Module - Part 2 Of 2: