lemon-mirror:
Home >> Chrysler >> 2002 >> Intrepid (CANADA) V6-2.7L >> Repair and Diagnosis >> Diagrams >> Electrical Diagrams >> Power Distribution Module >> Power Distribution Center

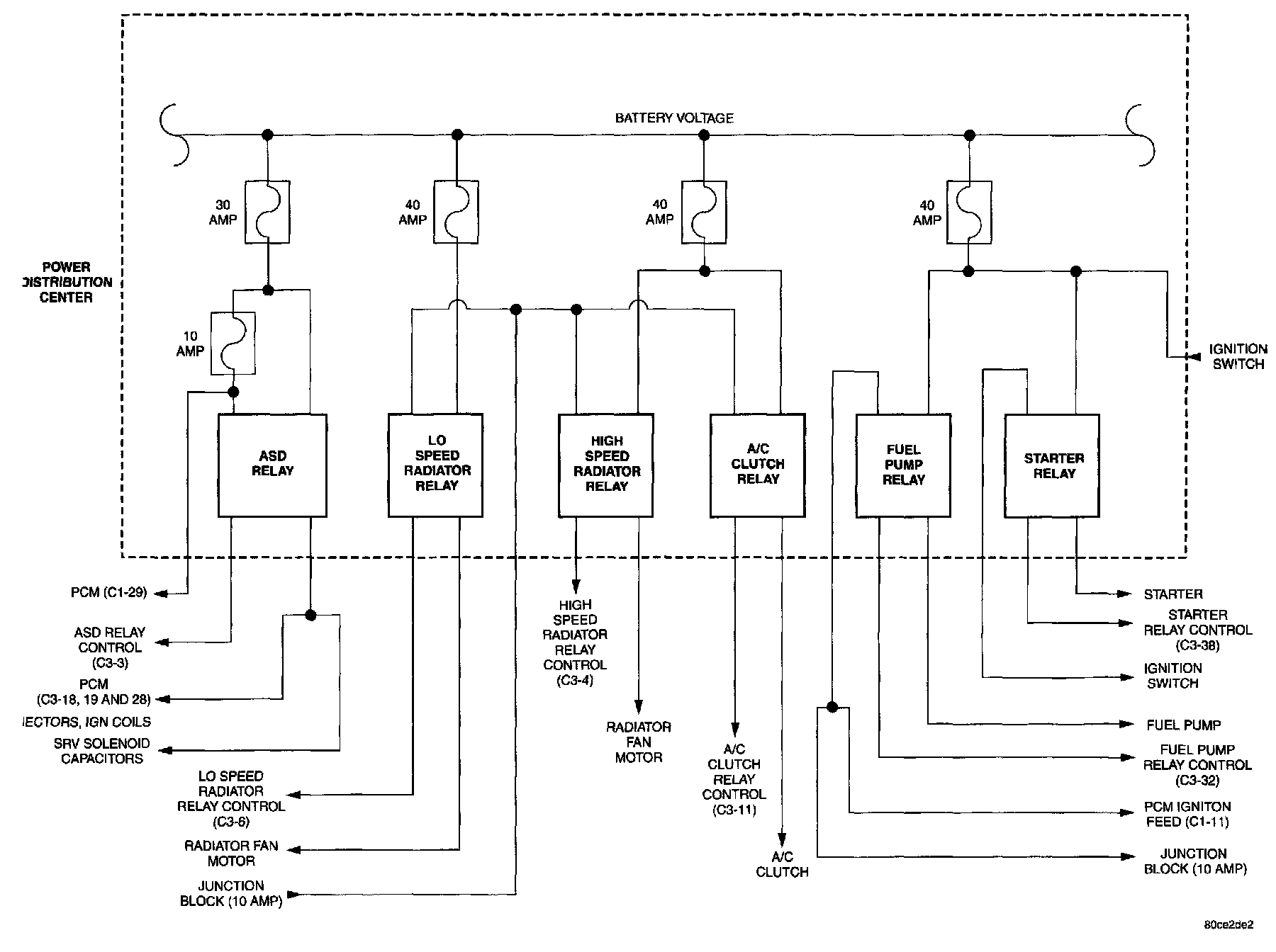
Power Distribution Center

2002 LH 2.7L and 3.5L: