lemon-mirror:
Home >> Chrysler >> 2001 >> Intrepid (CANADA) V6-3.2L >> Repair and Diagnosis >> Application and ID >> Body Code Plate

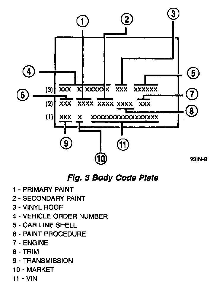
Body Code Plate

Fig.3 Body Code Plate:




Fig.4 Body Code Plate Location:




LOCATION AND DECODING
The Body Code Plate (Fig. 3) is located in the engine compartment on the battery tray front side (Fig. 4). There are seven lines of information on the body code plate. Lines 4, 5, 6, and 7 are not used to define service information. Information reads from left to right, starting with line 3 in the center of the plate to line 1 at the bottom of the plate.

BODY CODE PLATE LINE 3

DIGITS 1, 2, AND 3
Paint procedure

DIGIT 4
Open Space

DIGITS 5 THROUGH 7
Primary paint

DIGIT 8 AND 9
Open Space

DIGITS 10 THROUGH 12
Secondary Paint

DIGIT 13 AND 14
Open Space

DIGITS 15 THROUGH 18
Interior Trim Code

DIGIT 19
Open Space

DIGITS 20,21, AND 22
Engine Code
- EGW = Six Cylinder, 24 Valve, SOHC, Gasoline, Aluminum Block

DIGIT 23
Open Space

BODY CODE PLATE - LINE 2
DIGITS 1 THROUGH 12
Vehicle Order Number

DIGITS 13, THROUGH 15
Vinyl Roof Code

DIGITS 15 AND 17
Open space

DIGITS 18 AND 19
Vehicle Shell Line
- LH

DIGITS 20
Canine
- C = Chrysler
- D = Dodge
- Y = Chrysler

DIGIT 21
- Price Class
- E = Economy
- H=HighLine
- L = Low Line
- M = Mid Line
- P = Premium
- S = Special/Sport
- x = Performance Image

DIGITS 22 AND 23
Body Type
- 41 = Four Door Sedan

BODY CODE PLATE LINE 1
DIGITS 1, 2, AND 3
Transaxle Codes
- DGX = 42LE four speed Electronic Automatic Transaxle

DIGIT 4
Open Space

DIGIT 5
Market Code
- C = Canada
- B = International
- M = Mexico
- U = United States

DIGIT 5
Open Space

DIGITS 7 THROUGH 23
Vehicle Identification Number
- Refer to Vehicle Identification Number (VIN) paragraph for proper breakdown of VIN code.

IF TWO BODY CODE PLATES ARE REQUIRED
The last code shown on either plate will be followed by END. When two plates are required, the last code space on the first plate will indicate (CTD)

When a second plate is required, the first four spaces of each line will not be used due to overlap of the plates.