lemon-mirror:
Home >> Chrysler >> 2000 >> Cirrus L4-2.4L VIN X >> Repair and Diagnosis >> Diagrams >> Connector Views >> Body Control Module

Body Control Module

Body Control Module - C1:




Body Control Module - C2:




Body Control Module - C3:




Body Control Module - C4:




Body Control Module - C5:




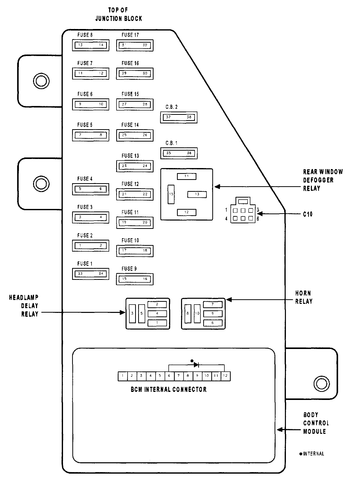
Junction Block:




J/B - Body Control Module: