lemon-mirror:
Home >> Chrysler >> 1999 >> Sebring Convertible L4-2.4L VIN X >> Repair and Diagnosis >> Body and Frame >> Body Control Systems >> Body Control Module >> Locations >> Component Locations

Component Locations

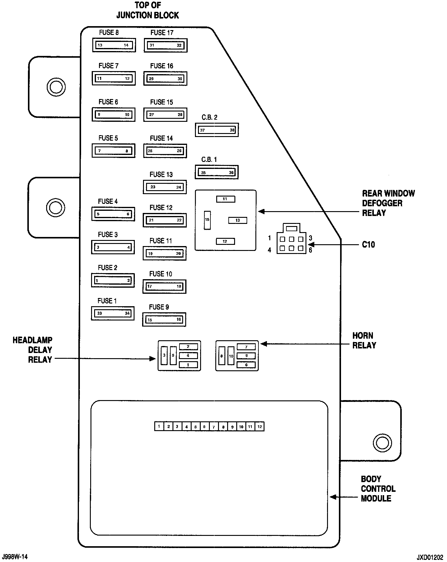
Junction Block/Body Control Module:




Junction Block Location:




Junction Block 8w-12-2:





The Body Control Module is connected to the electrical Junction Block (JB), located in the left end cap of the instrument panel.