lemon-mirror:
Home >> Chevrolet >> 2013 >> Volt L4-1.4L Elect >> Repair and Diagnosis >> Diagrams >> Connector Views >> Battery >> Battery Control Module >> Battery Energy Control Module X2

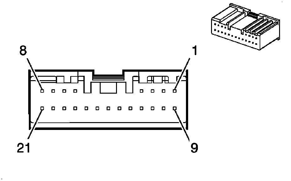
Battery Energy Control Module X2




Component Connector End Views

K16 Battery Energy Control Module X2