lemon-mirror:
Home >> Chevrolet >> 2013 >> Sonic L4-1.8L >> Repair and Diagnosis >> Diagrams >> Connector Views >> Engine Control Module >> Engine Control Module X2

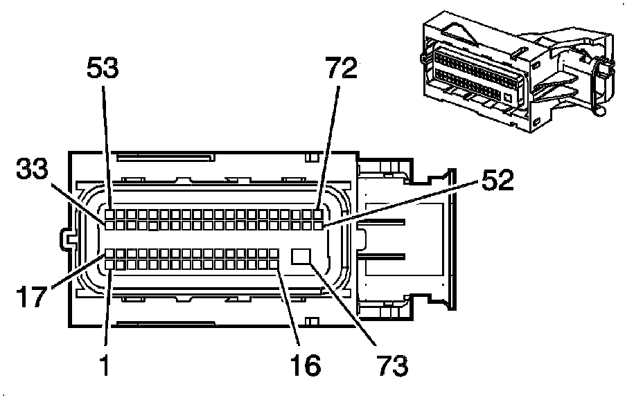
Engine Control Module X2




Component Connector End Views

K20 Engine Control Module X2 (LUW/LWE)