lemon-mirror:
Home >> Chevrolet >> 2013 >> Sonic L4-1.4L Turbo >> Repair and Diagnosis >> Powertrain Management >> Computers and Control Systems >> Engine Control Module >> Diagrams >> Engine Control Module X2

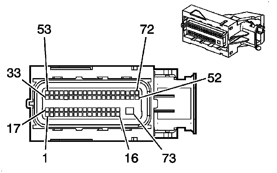
Engine Control Module X2




Component Connector End Views

K20 Engine Control Module X2 (LUV)