lemon-mirror:
Home >> Chevrolet >> 2013 >> Malibu L4-2.5L >> Repair and Diagnosis >> Diagrams >> Connector Views >> Radiator Cooling Fan Control Module

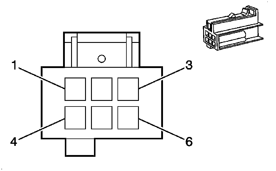
Radiator Cooling Fan Control Module





Component Connector End Views

K22 Cooling Fan Control Module (HP6)