lemon-mirror:
Home >> Chevrolet >> 2013 >> Malibu L4-2.5L >> Repair and Diagnosis >> Diagrams >> Connector Views >> Control Module HVAC >> HVAC Control Module X3

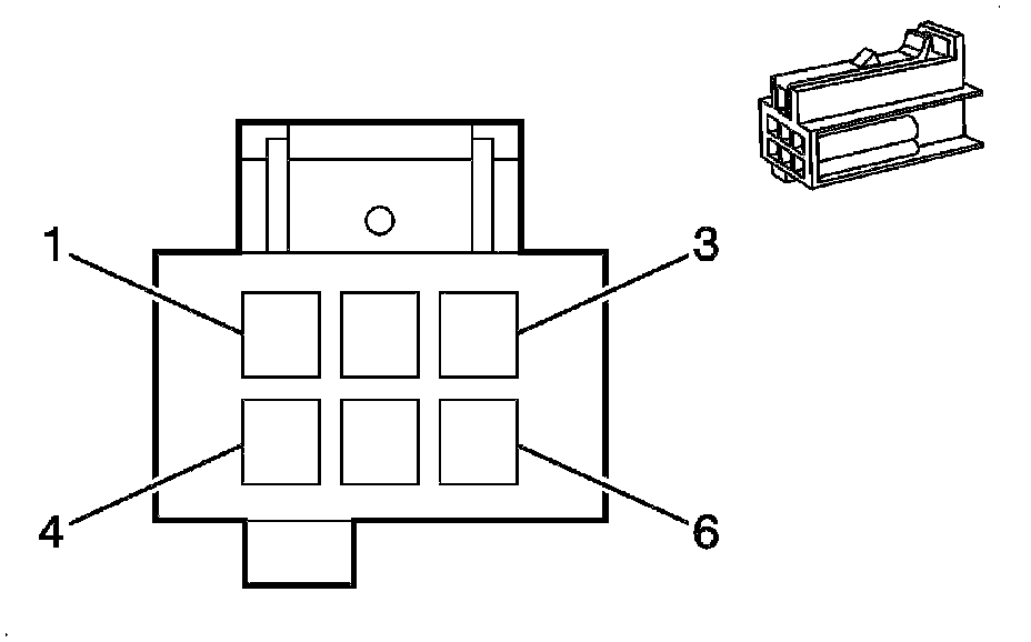
HVAC Control Module X3





Component Connector End Views

K33 HVAC Control Module X3