lemon-mirror:
Home >> Chevrolet >> 2012 >> Volt L4-1.4L Elect >> Repair and Diagnosis >> Powertrain Management >> Computers and Control Systems >> Air Flow Meter/Sensor >> Diagrams

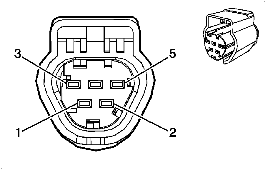
Air Flow Meter/Sensor: Diagrams




Component Connector End Views

B75B Mass Airflow/Intake Air Temperature Sensor