lemon-mirror:
Home >> Chevrolet >> 2012 >> Sonic L4-1.8L >> Repair and Diagnosis >> Diagrams >> Connector Views >> Engine Control Module >> Engine Control Module X1 (LUW)

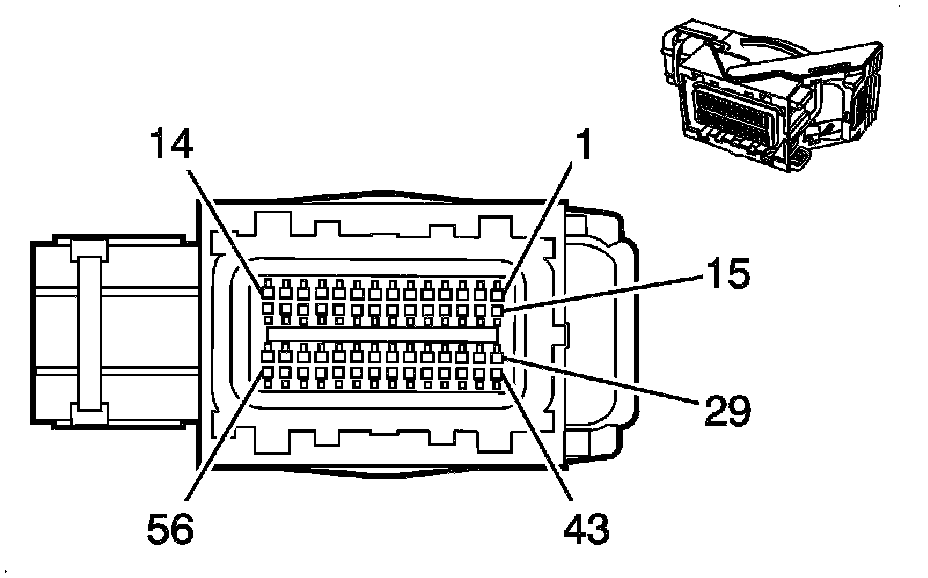
Engine Control Module X1 (LUW)




Component Connector End Views

K20 Engine Control Module X1 (LUW)