lemon-mirror:
Home >> Chevrolet >> 2012 >> Sonic L4-1.4L Turbo >> Repair and Diagnosis >> Diagrams >> Connector Views >> Engine Control Module >> Engine Control Module X3 (LUV)

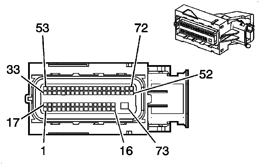
Engine Control Module X3 (LUV)




Component Connector End Views

K20 Engine Control Module X3 (LUV)