lemon-mirror:
Home >> Chevrolet >> 2012 >> Malibu L4-2.4L >> Repair and Diagnosis >> Diagrams >> Connector Views >> Steering Column Control Module

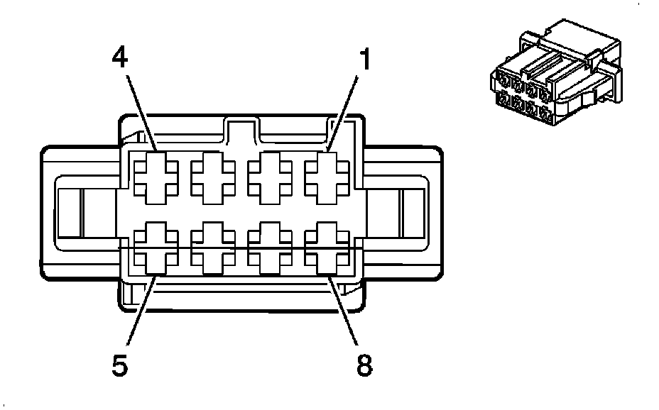
Steering Column Control Module




Component Connector End Views

K60 Steering Column Lock Module