lemon-mirror:
Home >> Chevrolet >> 2012 >> Malibu L4-2.4L >> Repair and Diagnosis >> Diagrams >> Connector Views >> Engine Control Module >> Engine Control Module X2 (LE9)

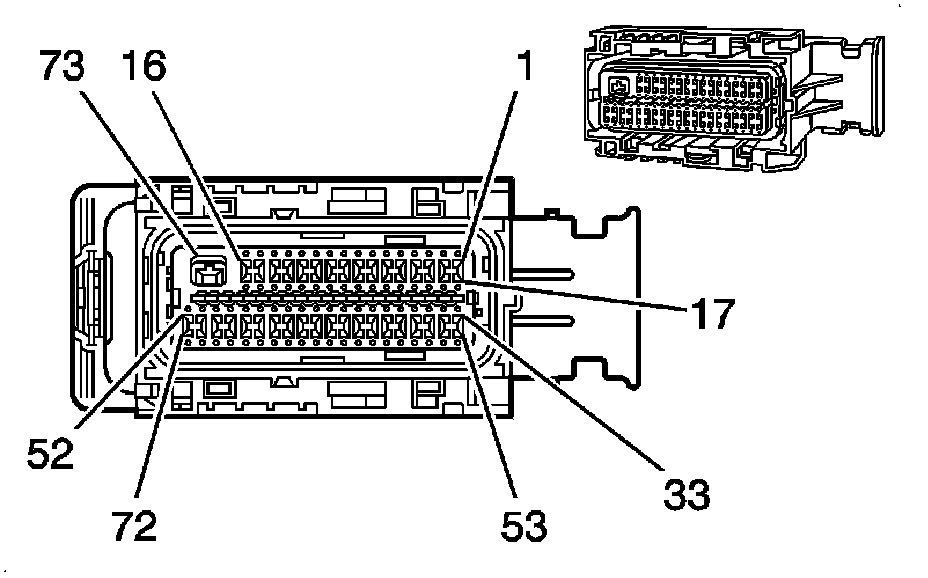
Engine Control Module X2 (LE9)




Component Connector End Views

K20 Engine Control Module X2 (LE9)