lemon-mirror:
Home >> Chevrolet >> 2012 >> Malibu L4-2.4L >> Repair and Diagnosis >> Body and Frame >> Locks >> Keyless Entry >> Keyless Entry Receiver >> Locations

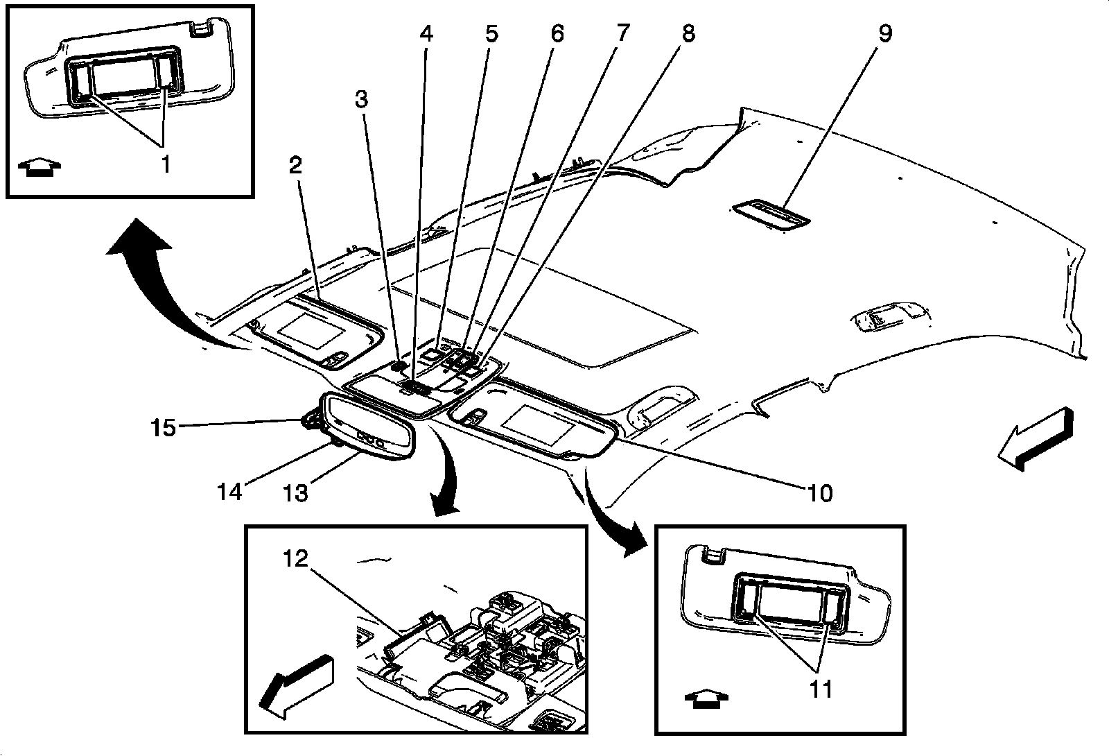
Keyless Entry Receiver: Locations




Passenger Compartment/Roof Component Views

Headliner Components





1 - E31L Sunshade Mirror Lamp - Left (DH6)

2 - A3L Sunshade - Left

3 - B24 Cellular Phone Microphone (UPH)

4 - S12 Dome Lamp Switch

5 - E37EL Dome/Reading Lamps - Front Overhead Console Left

6 - S88 Sunroof Tilt Switch (CF5)

7 - S72 Sunroof Switch (CF5)

8 - E37ER Dome/Reading Lamps - Front Overhead Console Right

9 - E37R Dome/Reading Lamps -- Rear

10 - A3R Sunshade - Right

11 - E31R Sunshade Mirror Lamp - Right (DH6)

12 - K77 Remote Control Door Lock Receiver

13 - A10 Inside Rearview Mirror

14 - B117 Rain Sensor (CE4)

15 - B160 Windshield Temperature and Inside Moisture Sensor (ASV)