lemon-mirror:
Home >> Chevrolet >> 2012 >> Express 2500 V8-6.6L DSL Turbo >> Repair and Diagnosis >> Diagrams >> Connector Views >> Glow Plug Control Module >> Glow Plug Control Module (GPCM) X2

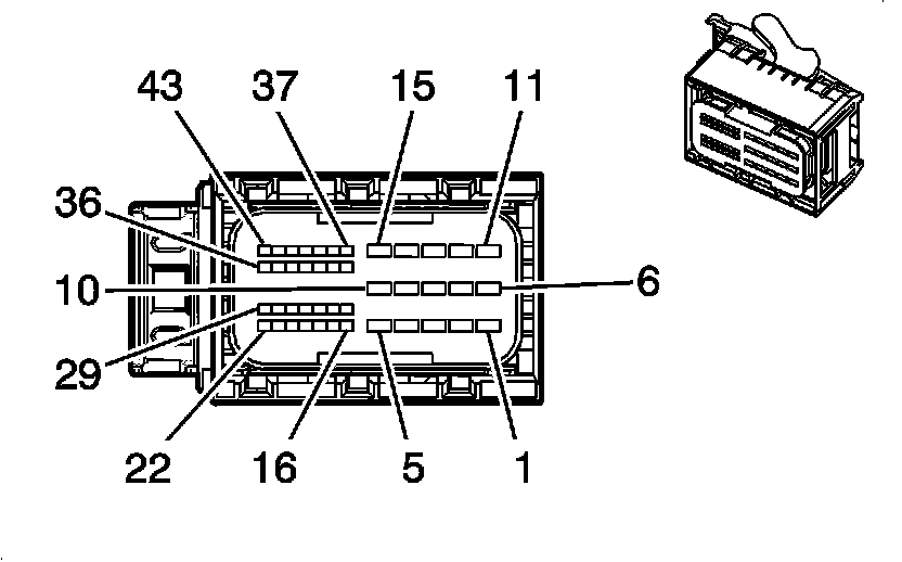
Glow Plug Control Module (GPCM) X2




Component Connector End Views

Glow Plug Control Module (GPCM) X2 (LGH)