lemon-mirror:
Home >> Chevrolet >> 2012 >> Cruze L4-1.8L >> Repair and Diagnosis >> Maintenance >> Timing Belt >> Service and Repair

Timing Belt: Service and Repair




Timing Belt Replacement

Special Tools
* EN-6333 - Timing Belt Tensioner Locking Pin
* EN-6340 - Camshaft Locking Tool
* EN-6625 - Crankshaft Locking Device
* EN-45059 - Anglemeter

For equivalent regional tools, refer to Special Tools Special Tools.

Removal Procedure

1. Open the hood.
2. Remove the air cleaner assembly. Refer to Air Cleaner Assembly Replacement (LDE, LXV, LUW, 2H0 and LFH) Service and Repair.
3. Remove the timing belt upper front cover. Refer to Timing Belt Upper Front Cover Removal (LDE, LED, LFJ, LXV, 2H0, LUW, LFH) 11. Timing Belt Upper Front Cover Removal.
4. Raise and support the vehicle. Refer to Lifting and Jacking the Vehicle Service and Repair.
5. Remove the right front wheelhouse liner. Refer to Front Wheelhouse Liner Replacement .
6. Remove the drive belt tensioner. Refer to Drive Belt Tensioner Replacement Service and Repair.
7. Remove the front compartment insulator. Refer to Front Compartment Insulator Replacement .
8. Set the engine to top dead center (TDC).
9. For vehicle with manual transmission: Remove the transmission front mount. Refer to Transmission Front Mount Replacement Transmission Front Mount Replacement.




10. For vehicle with manual transmission: Remove the bolted connection (1).




11. For vehicle with automatic transmission: Remove the bolt (1).




12. Install EN-6625 - locking device (2) to block the crankshaft.
13. Install the bolt or bolted connection (1).




14. Remove and DISCARD the crankshaft balancer bolt (1).




15. Remove the 4 lower timing belt cover bolts (2).
16. Remove the lower timing belt cover (1).
17. Lower the vehicle.





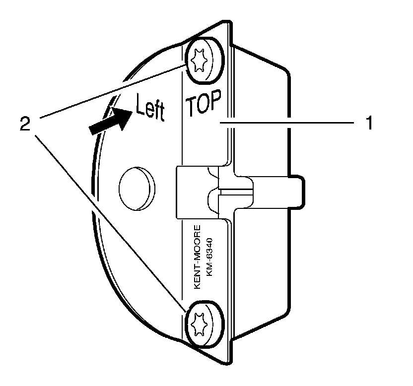
Note: The left half of the EN-6340 locking tool can be recognized by the lettering "left", arrow, on the tool.

18. Prepare the left half of the EN-6340 - locking tool.

1. Remove the 2 bolts (2)
2. Remove the front panel (1) from the EN-6340 - locking tool - left.




19. Install the EN-6340 - locking tool into the camshaft adjusters.

Note: The spot type marking (4) on the intake camshaft adjuster does not correspond to the groove of EN-6340-left during this process but must be somewhat above as shown.

1. Install the EN-6340 - locking tool - left (1) in the camshaft adjusters as shown.

Note: The spot type marking (3) on the exhaust camshaft adjuster must correspond to the groove on EN-6340-right.

2. Install EN-6340 - locking tool - right (2) in the camshaft adjusters as shown.

20. Remove EN-6340 - locking tool.
21. Raise and support the vehicle. Refer to Lifting and Jacking the Vehicle Service and Repair.




22. Apply tension to the drive belt tensioner (2) in the direction of the arrow, using an allen key (1).
23. Install the EN-6333 - locking pin (3).
24. Remove the timing belt idler pulley. Refer to Timing Belt Idler Pulley Replacement Service and Repair.




25. Remove the timing belt (1).

Installation Procedure





Note: Threading the timing belt through the engine mount bracket is only permissible in conjunction with the assembly tool supplied with NEW timing belts or otherwise it is possible to damage the toothed belt at this stage by kinking it.

Note: If the toothed belt has been used, observe the direction of rotation.

1. Install the timing belt (1) in the enclosed assembly tool (2).
2. Guide the timing belt through the engine mount bracket with the assembly tool.
3. Remove the assembly tool.




4. Install the timing belt (1).
5. Guide the timing belt past the tensioner and place it on the crankshaft sprocket wheel.
6. Place the timing belt on the exhaust and intake camshaft position actuator adjusters.
7. Raise and support the vehicle.
8. Install the timing belt idler pulley. Refer to Timing Belt Idler Pulley Replacement Service and Repair.




9. Apply tension to the drive belt tensioner (2) in the direction of the arrow, using an allen key (1).
10. Remove the EN-6333 - locking pin (3).

Note: The timing belt tensioner moves automatically to the correct position.

11. Release tension on timing belt tensioner.




12. Remove bolt or bolted connection (1).
13. Remove EN-6625 - locking device (2).
14. Lower the vehicle.
15. Remove the EN-6340 - locking tool.




16. Check the timing

Note: Note the marking at the camshaft sprockets.

1. Turn the crankshaft 720° in the direction of engine rotation by the crankshaft balancer bolt.

Note: The spot type marking (4) on the intake camshaft adjuster does not correspond to the groove of EN-6340-left during this process but must be somewhat above as shown.

2. Install EN-6340-left - locking tool (1) into the camshaft adjusters as shown.

Note: The spot type marking (3) on the exhaust camshaft adjuster must correspond to the groove on EN-6340-right.

3. Install EN-6340-right - locking tool (2) into the camshaft adjusters as shown.

17. Remove the EN-6340 - locking tool.
18. Raise and support the vehicle. Refer to Lifting and Jacking the Vehicle Service and Repair.





Note: The timing belt drive gear and oil pump housing must align.

19. Control the crankshaft balancer position.




20. Install EN-6625 - locking device (2) to block the crankshaft.
21. Install the bolt or bolted connection (1).




22. Install the lower timing belt cover (1).
23. Install the 4 lower timing belt cover bolts (2) and tighten to 6 Nm (53 lb in).





Caution: Refer to Torque-to-Yield Fastener Caution Torque-to-Yield Fastener Caution.

24. Install the crankshaft balancer (2).
25. Install a NEW crankshaft balancer bolt (1) and tighten in 3 passes using the EN-45059 - meter :

1. First pass to 95 Nm (70 lb ft)
2. Second pass to 45°
3. Third pass to 15°




26. Remove bolt or bolted connection (1).
27. Remove EN-6625 - locking device (2).





Caution: Refer to Fastener Caution Fastener Caution.

28. For vehicle with automatic transmission: Install the bolt (1) and tighten to 45 Nm (33 lb ft).




29. For vehicle with manual transmission: Install the bolt (1) and tighten to 40 Nm (32 lb ft).
30. Install the drive belt tensioner. Refer to Drive Belt Tensioner Replacement Service and Repair.
31. Install the right front wheelhouse liner. Refer to Front Wheelhouse Liner Replacement .
32. Lower the vehicle.
33. Remove the EN-6340 - locking tool.
34. Install the timing belt upper front cover. Refer to Timing Belt Upper Front Cover Installation (LDE, LED, LFJ, LXV, 2H0, LUW, LFH) 91. Timing Belt Upper Front Cover Installation.
35. Install the air cleaner assembly. Refer to Air Cleaner Assembly Replacement (LDE, LXV, LUW, 2H0 and LFH) Service and Repair.
36. Close the hood.