lemon-mirror:
Home >> Chevrolet >> 2012 >> Corvette V8-7.0L >> Repair and Diagnosis >> Diagrams >> Connector Views >> Electronic Brake Control Module

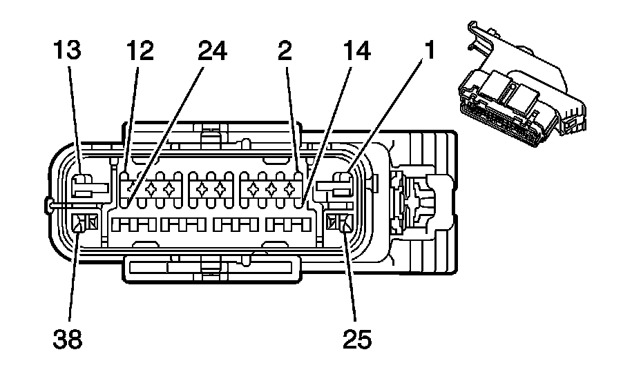
Electronic Brake Control Module




Component Connector End Views

Electronic Brake Control Module (EBCM)