lemon-mirror:
Home >> Chevrolet >> 2012 >> Corvette V8-6.2L >> Repair and Diagnosis >> Maintenance >> Vehicle Lifting >> Service and Repair

Vehicle Lifting: Service and Repair





Lifting and Jacking the Vehicle

Danger: To avoid any vehicle damage, serious personal injury or death when major components are removed from the vehicle and the vehicle is supported by a hoist, support the vehicle with jack stands at the opposite end from which the components are being removed and strap the vehicle to the hoist.


Warning

To help avoid personal injury, always use jack stands when you are working on or under any vehicle that is supported only by a jack.

Caution: When you are jacking or lifting a vehicle at the frame side rails or other prescribed lift points, be certain that the lift pads do not contact the catalytic converter, the brake pipes or the fuel lines. If such contact occurs, vehicle damage or unsatisfactory vehicle performance may result.

Before you begin any lifting procedure, be sure the vehicle is on a clean, hard, level surface. Be sure all the lifting equipment meets weight standards and is in good working order. Be sure all the vehicle loads are equally distributed and secure. If you are only supporting the vehicle at the frame side rails, make sure the lifting equipment does not put too much stress on or weaken the frame side rails.

If you use any other lifting methods than those called out, take special care not to damage the fuel tanks, the exhaust system or the underbody.

Caution: When you are jacking the vehicle at the front locations, be certain that the jack or the jack lift pad does not contact the front fascia, front fascia air dam, or the front fenders. If such contact occurs, vehicle damage may result. When jacking at selected front locations additional clearance may be required for the jacking points.

Lifting Considerations for the ZR1





It may be necessary to put the ZR1 on low ramps to allow lift arms to fit under the vehicle and provide necessary clearance for the installed rocker moldings.

* Height: 76 mm (3 in)
* Width: 304 mm (12 in)

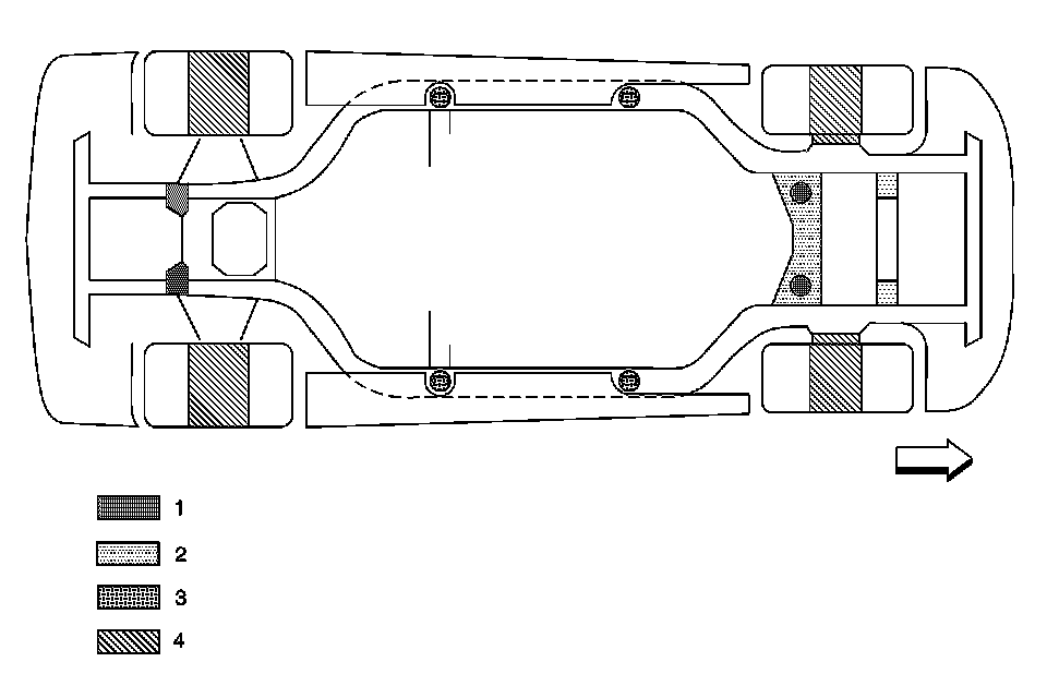
Vehicle Lifting and Jacking Locations




1 - Preferred Vehicle Jacking Locations
2 - Optional Vehicle Jacking Locations
3 - Frame Contact Hoist Locations, Optional Vehicle Jacking Locations
4 - Suspension Contact Hoist Locations

Vehicle Lifting - Frame Contact Hoist

Special Tools

J 43625 Lift Pad Adapter

Front Hoist Pads





Note: The front hoist pads must not contact the rocker panels, the front fenders, or the floor pan.

Position the (frame contact) front hoist pads as follows:

* Under or immediately forward of the front frame rail shipping slot reinforcements.
* The long sides of the hoist pads parallel to the frame rails.

Rear Hoist Pads





Note:
* The rear hoist pads must not contact the rocker panels to the outside of the frame rail shipping slot reinforcements.
* The rear hoist pads must not contact the floor pan.

Install the J 43625 into the rear frame rail shipping slots, lock into place and position the rear hoist pads as follows:

* Under the J 43625 .
* The long sides of the hoist pads perpendicular to the J 43625 .

Vehicle Lifting - Suspension Contact Hoist

Front Lift

Position the (suspension contact) front lift under the outer edge of the front suspension lower control arms.

Rear Lift

Position the (suspension contact) rear lift under the rear tire and wheel assemblies.

Vehicle Jacking

When you are lifting a vehicle with a vehicle jack or a service jack, block the wheels at the opposite end from which you are lifting. Use jack stands to provide additional support.

Under the Frame Rails - Front





Note: Use only service jacks utilizing 64 mm (21/2 inch) or smaller diameter lifting pads, to reduce the possibility of contact with undesired areas of the vehicle:

The service jack lift pad must not contact the front fenders, or the floor pan.

Position the service jack lift pad as follows:

Under the frame rail shipping slot reinforcements (1).

Under the Frame Rails - Rear





Note: Use only service jacks utilizing 64 mm (21/2 inch) or smaller diameter lifting pads, to reduce the possibility of contact with undesired areas of the vehicle:

The service jack lift pad must not contact the rocker panels, or the floor pan.

Position the service jack lift pad as follows:

Under the frame rail shipping slot reinforcements (2).

Under the Front Suspension Crossmember - Preferred Front Location





Caution: When you are jacking the vehicle at the front locations, be certain that the jack or the jack lift pad does not contact the front fascia, front fascia air dam, or the front fenders. If such contact occurs, vehicle damage may result. When jacking at selected front locations additional clearance may be required for the jacking points.

Note:
* The service jack lift pad must not come in contact with the engine oil pan (2) or the front suspension monoleaf spring.
* Carefully observe the following:

- Be sure to place a block or pad between the jack lift pad and the vehicle.
- Make sure the jack lift pad spans at least 2 suspension crossmember ribs (1).
- Lift only in the areas shown.

Position the service jack lift pad as follows:

* In the preferred location (3) if possible, spanning at least 2 of the suspension crossmember ribs (1).
* In the optional location (4) if necessary, spanning at least 2 of the suspension crossmember ribs (1).

Under the Front Suspension Crossmember - Optional Front Location





Caution: When you are jacking the vehicle at the front locations, be certain that the jack or the jack lift pad does not contact the front fascia, front fascia air dam, or the front fenders. If such contact occurs, vehicle damage may result. When jacking at selected front locations additional clearance may be required for the jacking points.

Note:
* The service jack lift pad must not come in contact with the front suspension monoleaf spring.
* Carefully observe the following:

- Be sure to place a block or pad between the jack lift pad and the vehicle.
- Make sure the jack lift pad spans at least 2 suspension crossmember ribs (1).
- Lift only in the areas shown.

Position the service jack lift pad as follows:

Spanning the 2 suspension crossmember ribs (1).

Under the Rear Suspension Crossmember





Note:
* The service jack lift pad must not come in contact with the rear suspension monoleaf spring.
* Carefully observe the following:

- Be sure to place a block or pad between the jack lift pad and the vehicle.
- Make sure the jack lift pad spans at least 2 suspension crossmember ribs (1).
- Lift only in the areas shown.

Position the service jack lift pad as follows:

Spanning the 2 suspension crossmember ribs (1).

Supporting the Vehicle with Jack Stands

Note: Do not place jack stands under the frame rails.

Under the Front Suspension Crossmember - Preferred Front Location





Note:
* The jack stand support pads must not come in contact with the engine oil pan (2) or the front suspension monoleaf spring.
* Carefully observe the following:

- Be sure to place a block or pad between the jack stand support pads and the vehicle.
- Make sure the jack stand support pads span at least 2 suspension crossmember ribs (1).
- Support only in the areas shown.

Position the jack stand support pads as follows:

* In the preferred location (3) if possible, spanning at least 2 of the suspension crossmember ribs (1).
* In the optional location (4) if necessary, spanning at least 2 of the suspension crossmember ribs (1).

Under the Front Suspension Crossmember - Optional Front Location





Note:
* The jack stand support pads must not come in contact with the front suspension monoleaf spring.
* Carefully observe the following:

- Be sure to place a block or pad between the jack stand support pads and the vehicle.
- Make sure the jack stand support pads span at least 2 suspension crossmember ribs (1).
- Support only in the areas shown.

Position the jack stand support pads as follows:

Spanning the 2 suspension crossmember ribs (1).

Under the Rear Suspension Crossmember





Note:
* The jack stand lift pads must not come in contact with the rear suspension monoleaf spring.
* Carefully observe the following:

- Be sure to place a block or pad between the jack stand lift pads and the vehicle.
- Make sure the jack stand lift pads span at least 2 suspension crossmember ribs (1).
- Support only in the areas shown.

Position the jack stand support pads as follows:

Spanning the 2 suspension crossmember ribs (1).