lemon-mirror:
Home >> Chevrolet >> 2012 >> Corvette V8-6.2L >> Repair and Diagnosis >> Diagrams >> Exploded Views >> Manual Transmission/Transaxle

Manual Transmission/Transaxle




Disassembled Views

Transmission Case (1 of 2)





1 - Reverse Gear Blocking Ring Assembly

2 - Reverse Gear Inner Ring

3 - Reverse Gear Outer Cone

4 - Reverse Gear Blocker Ring

5 - Reverse Gear Thrust Washer Locking Ring

6 - Reverse Synchronizer Two Piece Washer

7 - Reverse Synchronizer Insert

8 - Reverse Synchronizer Hub

9 - Reverse Synchronizer Sleeve

10 - Reverse Synchronizer Key Retainer

11 - Reverse Synchronizer Assembly

12 - 5th Speed Driven Gear

13 - 6th Speed Driven Gear

14 - Vent

15 - Vent Pipe

16 - Offset Lever Roll Pin

17 - Offset Shift Lever

18 - Top Shift Shaft Bushing

19 - Transmission Case

20 - Guide Plate Bolt

21 - Guide Plate

22 - 6th Speed Drive Gear Bearing Spacer

23 - 6th Speed Drive Gear

24 - 6th Speed Drive Gear Needle Bearing

25 - 6th Speed Drive Gear Bearing Spacer

26 - Synchronizer Retainer Ring

27 - 6th Gear Blocking Ring Assembly

28 - 6th Speed Drive Gear Inner Cone

29 - 6th Speed Drive Gear Outer Cone

30 - 6th Speed Drive Gear Synchronizer Blocking Ring

31 - Reverse Shift Fork Retainer Ring

32 - Reverse Shift Fork Pad

33 - Reverse Shift Fork

Transmission Case (2 of 2)





1 - Case Rear Extension Pin

2 - 5th/6th Lever Guide Bolt

3 - Interlock Guide Bolt

4 - Computer Aided Gear Select Solenoid

5 - Cooler Line Return Fitting

6 - Oil Fill Plug

7 - Countershaft Bearing Race

8 - Backup Lamp Switch

9 - Magnet

10 - Shift Detent Assembly

11 - Mainshaft Center Bearing Race

12 - Mainshaft Center Bearing

13 - 1st Speed Drive Gear

14 - 1st Speed Drive Gear Needle Bearing

15 - 1st Speed Drive Gear Locking Ring

16 - 1st Gear Blocking Ring Assembly

17 - 1st Speed Gear Two Piece Washer

18 - 1st Speed Drive Gear Inner Cone

19 - 1st Speed Drive Gear Outer Cone

20 - 1st Gear Synchronizer Blocking Ring

21 - 1st/2nd Synchronizer Assembly

22 - 2nd Gear Synchronizer Blocking Ring

23 - 1st/2nd Synchronizer Hub

24 - 1st/2nd Synchronizer Insert

25 - 1st/2nd Synchronizer Sleeve

26 - Reverse Backup Lamp Switch (Export Only)

27 - E-Z Key Switch (Export Only)

28 - Coolant Temperature Sensor (Z51, Z06, Exports)

29 - Detent (Export Only)

Adapter Plate and Gears





1 - Adapter to Transmission Case Bolt

2 - Outer Shift Shaft Seal

3 - Inner Shift Shaft Seal

4 - Front Adapter Plate

5 - Dowel Pin

6 - Top Shaft Rail Bushing

7 - Transmission Fluid Pump Check Ball

8 - Spring

9 - Plug

10 - Oil Pump

11 - Oil Pump Cover

12 - Oil Pump Cover Retainer Ring

13 - Input Shaft Seal

14 - Input Shaft Bearing Shim

15 - Input Shaft Bearing Race

16 - Input Shaft Bearing

17 - Input Shaft

18 - Input Shaft Bearing Race

19 - 3rd/4th Synchronizer Retaining Ring

20 - 4th Gear Blocking Ring Assembly

21 - 4th Speed Drive Gear Inner Cone

22 - 4th Speed Drive Gear Outer Cone

23 - 4th Speed Drive Gear Blocking Ring

24 - 3rd/4th Synchronizer Assembly

25 - 3rd/4th Synchronizer Insert

26 - 3rd/4th Synchronizer Hub

27 - 3rd/4th Synchronizer Sleeve

28 - 3rd Gear Blocking Ring Assembly

29 - 3rd Speed Drive Gear Synchronizer Blocking Ring

30 - 3rd Speed Drive Gear Friction Cone

31 - 3rd Speed Drive Gear Inner Cone

32 - 3rd Speed Drive Gear Spacer

33 - 3rd Speed Drive Gear

34 - 3rd Speed Drive Gear Bearing

35 - Mainshaft Small Tapered Bearing

36 - Mainshaft

37 - 2nd Speed Drive Gear Needle Bearing

38 - 2nd Speed Drive Gear

39 - 2nd Speed Drive Gear Bearing Spacer

40 - 2nd Gear Blocking Ring Assembly

41 - 2nd Speed Drive Gear Inner Cone

42 - 2nd Speed Drive Gear Outer Cone

43 - Countershaft Bearing Adjust Shim

44 - Countershaft Bearing Race

45 - Countershaft Front Bearing

46 - Countershaft

47 - Countershaft Rear Bearing

48 - Transmission Fluid Pump Inlet Pipe

49 - Shift Shaft Bushing

50 - Transmission Adapter Plug

51 - Transmission Fluid Pump Outlet Pipe Fitting Seal

52 - Transmission Fluid Pump Outlet Pipe Fitting

Extension Housing





1 - Extension Housing

2 - Mainshaft Bearing Race

3 - Mainshaft Rear Bearing Retainer Ring

4 - Mainshaft Rear Bearing Retainer Ring

5 - Mainshaft Gear Bearing Spacer

6 - Mainshaft Rear Bearing

7 - Mainshaft Gear Bearing Spacer

8 - Synchronizer Retainer Ring

9 - Reverse Gear Thrust Washer

10 - Mainshaft Reverse Speed Gear

11 - Reverse Gear Bearing

12 - Reverse Gear Washer

13 - Reverse Idler Gear Shaft

14 - Reverse Idler Gear Needle Bearing

15 - Reverse Idler Gear

16 - Reverse Idler Bracket

17 - Reverse Idler Bracket Bolt

18 - Outer Output Shaft Seal

19 - Inner Output Shaft Seal

20 - Extension Housing to Transmission Case Bolt

21 - Oil Drain Plug

22 - Lubrication Funnel

23 - Extension Housing Counter Shaft Bearing Assembly

24 - Retainer

25 - Separate Gear

26 - Retainer

27 - Spacer

28 - 5th Speed Drive Gear Needle Bearing

29 - 5th Speed Drive Gear

30 - Spacer

31 - Retainer

32 - Thrust Washer

33 - 5th Gear Blocking Ring Assembly

34 - 5th Speed Gear Inner Cone

35 - 5th Speed Gear Friction Cone

36 - 5th Gear Synchronizer Blocking Ring

37 - 5th/6th Synchronizer Assembly

38 - 5th/6th and Reverse Synchronizer Insert

39 - 5th/6th Synchronizer Hub

40 - 5th/6th Synchronizer Sleeve

41 - Shift Fork Pad

42 - 5th/6th Shift Fork

43 - 5th Gear Shift Fork Retainer Ring

Reverse Lockout





1 - Transmission Case Cover Bolt

2 - Transmission Case Cover

3 - Spring

4 - Detent Roller

5 - Reverse Lockout O-ring Seal

6 - Reverse Lockout Solenoid

7 - Transmission Case

8 - Gasket

9 - O-ring

10 - Reverse Lockout Assembly

11 - Reverse Lockout Solenoid Mounting Bolt

12 - Reverse Lockout Body

13 - Reverse Lockout Inner Spring

14 - Snap Ring

15 - Reverse Lockout Collar

16 - Reverse Lockout Outer Spring

17 - Reverse Lockout Plunger

18 - Snap Ring

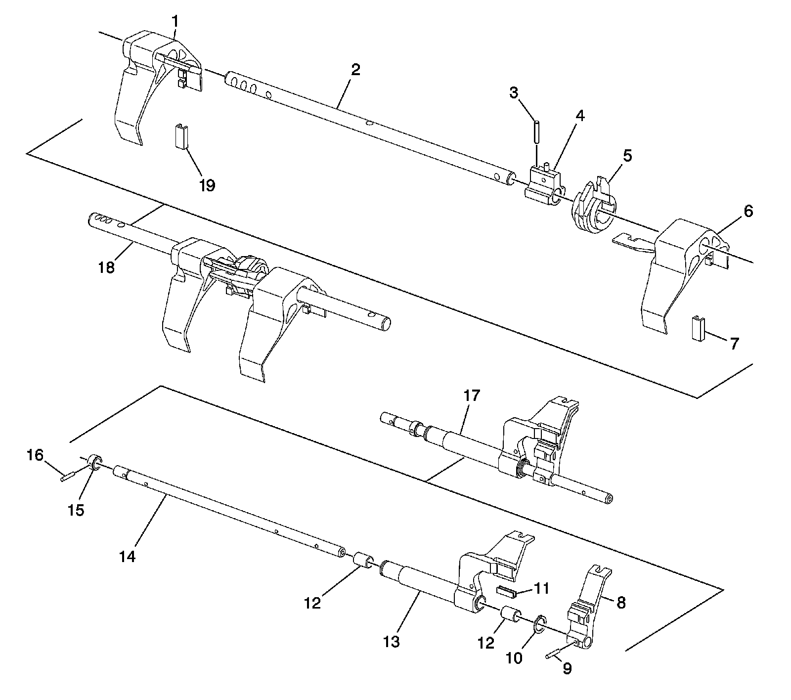
Shift Shafts





1 - 1st/2nd Shift Fork

2 - Shift Shaft

3 - 1st/2nd Shift Fork Pin

4 - Control Select Arm Pin

5 - Gear Select Interlock Plate

6 - 3rd/4th Shift Fork

7 - 3rd/4th Shift Fork Pad

8 - Reverse Shift Lever

9 - Reverse Shift Lever Pin

10 - Retaining Ring

11 - 5th/6th Shift Lever Pad

12 - 5th/6th Shift Shaft Lever Bushing

12 - 5th/6th Shift Shaft Lever Bushing

13 - 5th/6th Shift Lever

14 - 5th/6th Reverse Shift Shaft

15 - Reverse Shift Collar

16 - Reverse Shift Collar Pin

17 - 5th/6th Shift Lever Assembly

18 - 1st/2nd Shift Shaft Assembly

19 - 1st/2nd Shift Fork Pad