lemon-mirror:
Home >> Chevrolet >> 2012 >> Corvette V8-6.2L SC >> Repair and Diagnosis >> Specifications >> Mechanical Specifications >> Engine >> System Specifications >> Thread Repair Specifications

Thread Repair Specifications




Thread Repair Specifications (6.2L LS9)

Engine Block- Front/Rear Views










Engine Block- Left/Right Side Views










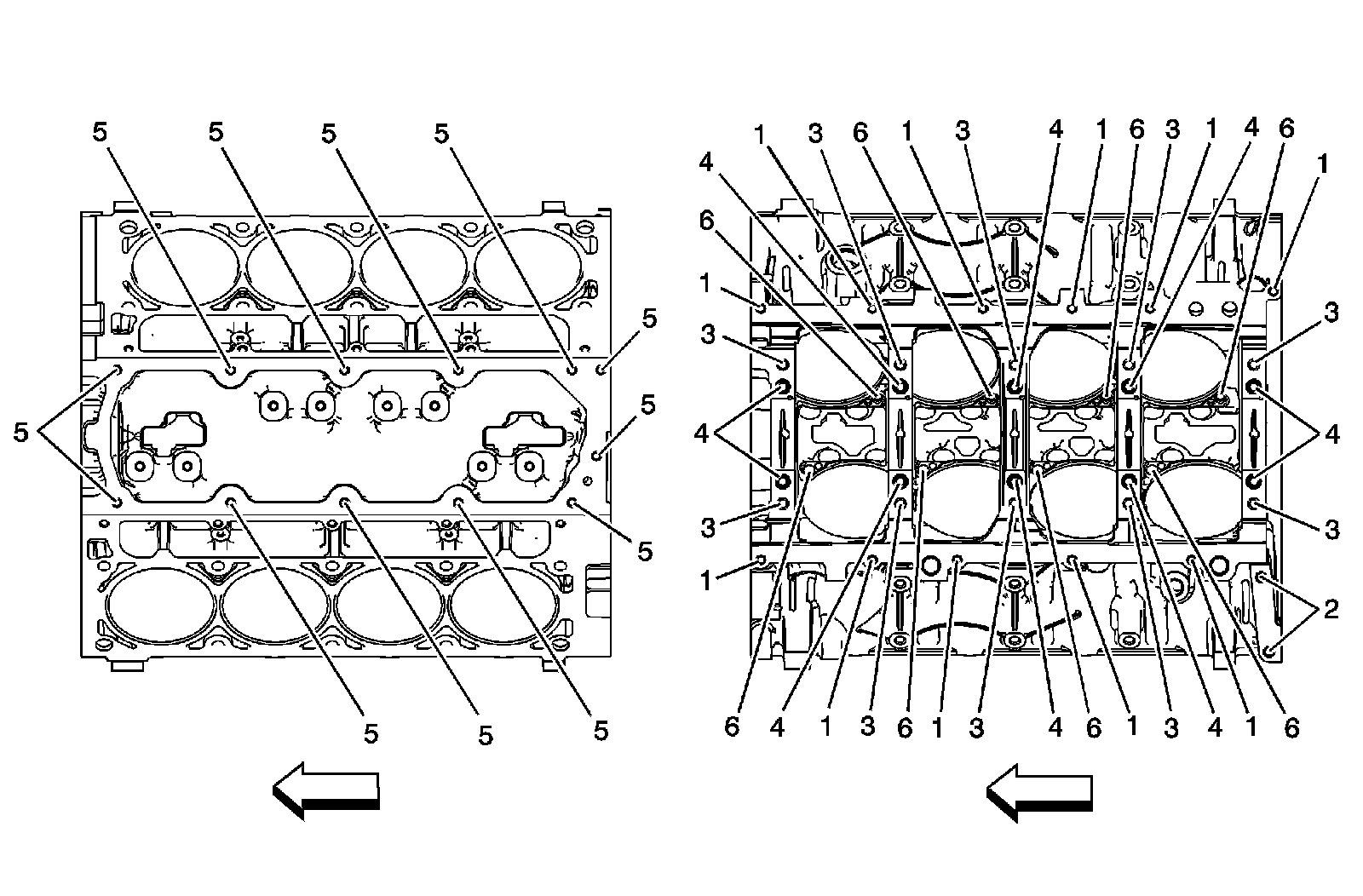
Engine Block- Top/Bottom Views










Cylinder Head- Top/End Views










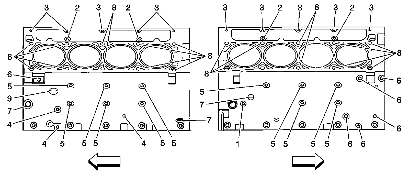
Cylinder Head- Intake/Exhaust Side Views