lemon-mirror:
Home >> Chevrolet >> 2012 >> Corvette V8-6.2L SC >> Repair and Diagnosis >> Diagrams >> Connector Views >> Engine Control Module >> Engine Control Module (ECM) X1

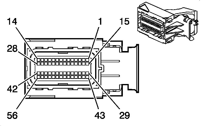
Engine Control Module (ECM) X1




Component Connector End Views

Engine Control Module (ECM) X1 (LS9)