lemon-mirror:
Home >> Chevrolet >> 2012 >> Caprice PPV V6-3.6L >> Repair and Diagnosis >> Windows and Glass >> Windows >> Power Window Control Module >> Service and Repair

Power Window Control Module: Service and Repair




Front Side Door Window Control Module Replacement

Removal Procedure

Warning:
Refer to Safety Glasses Warning Safety Glasses Warning.


1. Disconnect the negative battery cable. Refer to Battery Negative Cable Disconnection and Connection (Primary) Battery Negative Cable Disconnection and Connection (Primary)Battery Negative Cable Disconnection and Connection (Auxiliary) Battery Negative Cable Disconnection and Connection (Auxiliary).

2. Remove the closeout/insulator panel. Refer to Instrument Panel Insulator Panel Replacement - Right Side Instrument Panel Insulator Panel Replacement - Right Side.

3. Remove the knee bolster. Refer to Knee Bolster Replacement Service and Repair.

4. Remove the hinge pillar trim panel. Refer to Body Hinge Pillar Trim Panel Replacement Body Hinge Pillar Trim Panel Replacement.





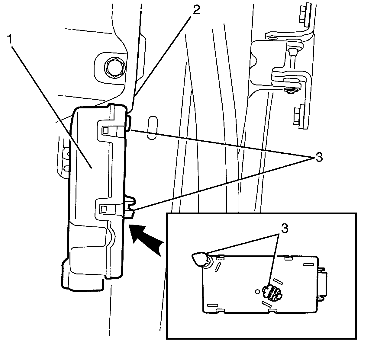
5. Disconnect the door module electrical connector (1).





Important:
The door module is located on the right side just under the instrument panel attached to the body.


Important:
Pry the door module (1) with a suitable flat bladed tool then manoeuvre to release top locating retainer (3).


6. Pry the door module (1) with a suitable flat bladed tool to release the retainers (3).

7. Remove the door module (1) from the vehicle (2).

Installation Procedure





1. Position the door module (1) to the vehicle (2).

Important:
Locate the top retainer first then press to engage the lower retainer.


2. Install the door module (1) and push to secure the retainers (3).





3. Connect the door module electrical connector (1).

4. Install the hinge pillar trim panel. Refer to Body Hinge Pillar Trim Panel Replacement Body Hinge Pillar Trim Panel Replacement.

5. Install the knee bolster. Refer to Knee Bolster Replacement Service and Repair.

6. Install the closeout/insulator panel. Refer to Instrument Panel Insulator Panel Replacement - Right Side Instrument Panel Insulator Panel Replacement - Right Side.

7. Connect the negative battery cable. Refer to Battery Negative Cable Disconnection and Connection (Primary) Battery Negative Cable Disconnection and Connection (Primary)Battery Negative Cable Disconnection and Connection (Auxiliary) Battery Negative Cable Disconnection and Connection (Auxiliary).

8. If re-programming is required. Refer to Control Module References Control Module References.