lemon-mirror:
Home >> Chevrolet >> 2012 >> Camaro V8-6.2L >> Repair and Diagnosis >> Diagrams >> Connector Views >> Communications Control Module

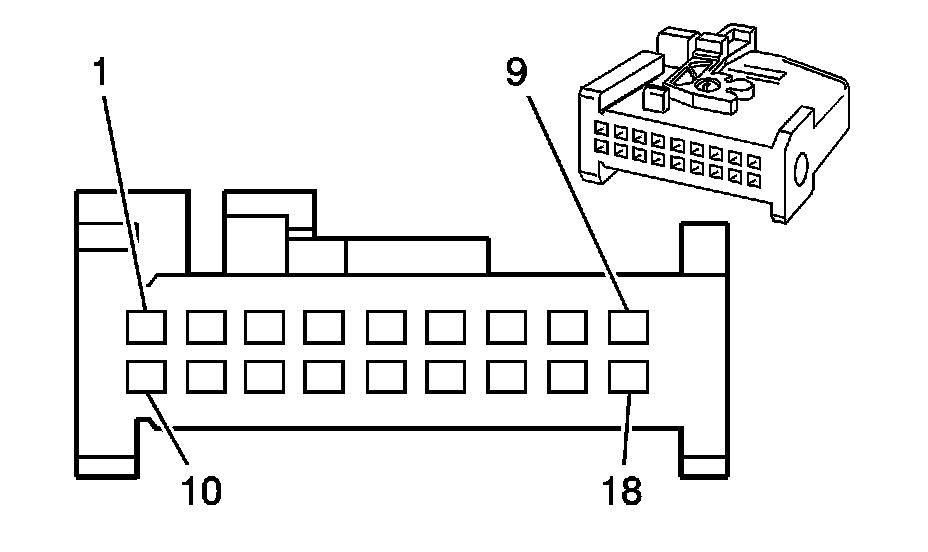
Communications Control Module




Component Connector End Views

K82 Mobile Telephone Control Module (UPH)