lemon-mirror:
Home >> Chevrolet >> 2011 >> Volt L4-1.4L Elect >> Repair and Diagnosis >> Diagrams >> Connector Views >> Engine Control Module >> Engine Control Module X1

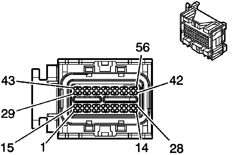
Engine Control Module X1




Component Connector End Views

K20 Engine Control Module X1