lemon-mirror:
Home >> Chevrolet >> 2011 >> Volt L4-1.4L Elect >> Repair and Diagnosis >> Diagrams >> Connector Views >> Electronic Brake Control Module

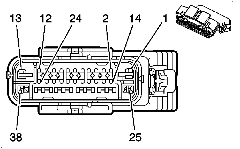
Electronic Brake Control Module




Component Connector End Views

K17 Electronic Brake Control Module