lemon-mirror:
Home >> Chevrolet >> 2011 >> Volt L4-1.4L Elect >> Repair and Diagnosis >> Diagrams >> Connector Views >> Battery >> Battery Control Module

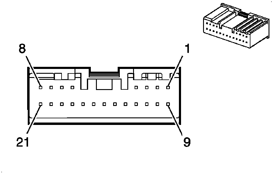
Battery Control Module




Component Connector End Views

K16 Battery Energy Control Module X2