lemon-mirror:
Home >> Chevrolet >> 2011 >> Silverado 2500 2WD V8-6.0L >> Repair and Diagnosis >> Diagrams >> Connector Views >> Engine Control Module >> Engine Control Module (ECM) X1

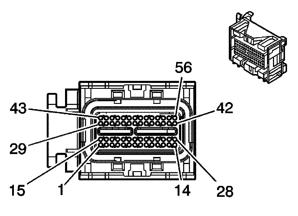
Engine Control Module (ECM) X1



ENGINE CONTROL MODULE (ECM) X1
(RPO L96)


































RPO Codes
RPO L96, VIN G - Gas, 8 Cylinder, 6.0L, SFI, Iron, GM