lemon-mirror:
Home >> Chevrolet >> 2011 >> Impala V6-3.5L >> Repair and Diagnosis >> Diagrams >> Exploded Views >> Automatic Transmission/Transaxle >> System Diagram >> Disassembled Views >> Control Valve Body Assembly

Control Valve Body Assembly




Disassembled Views

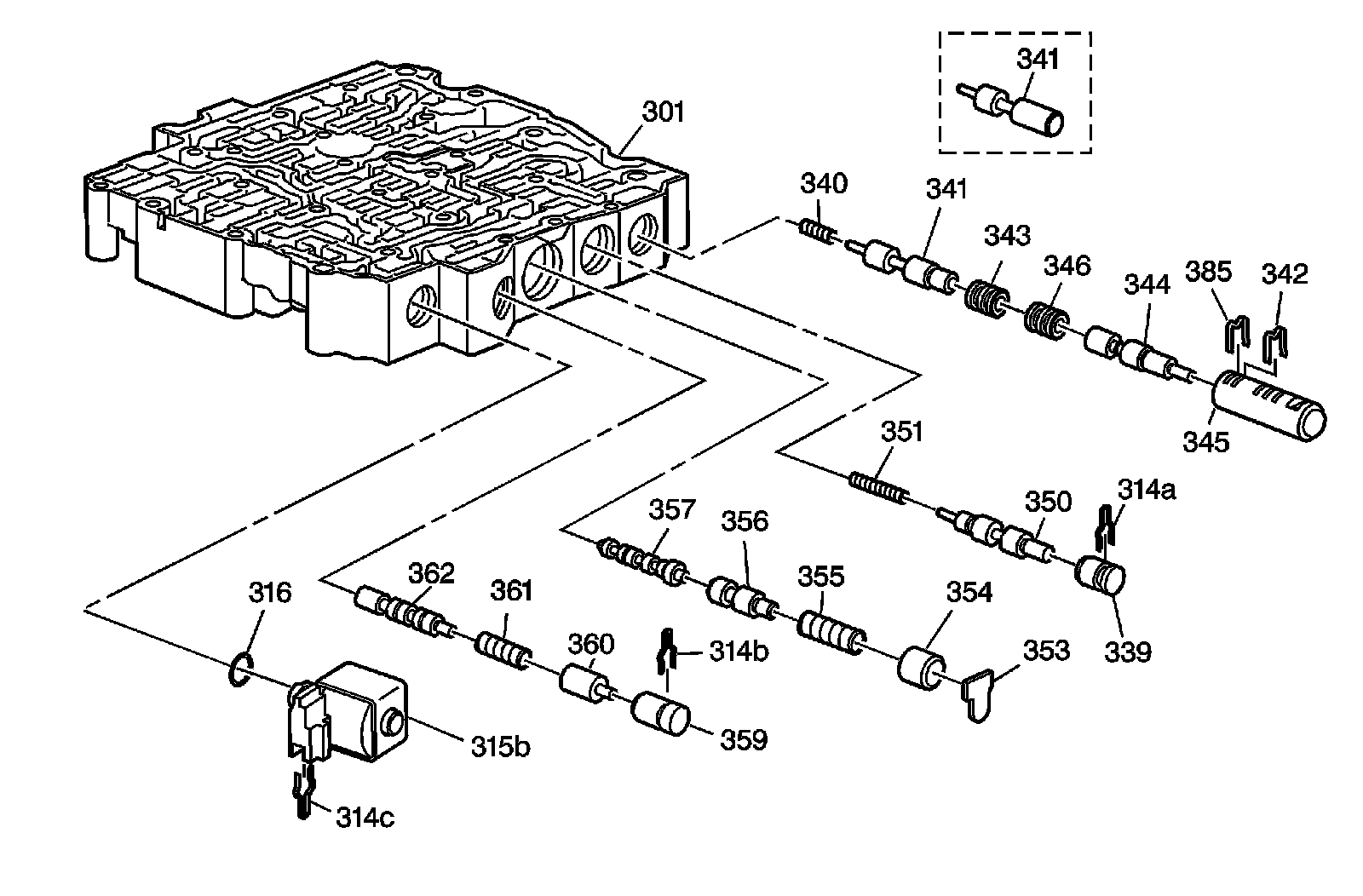
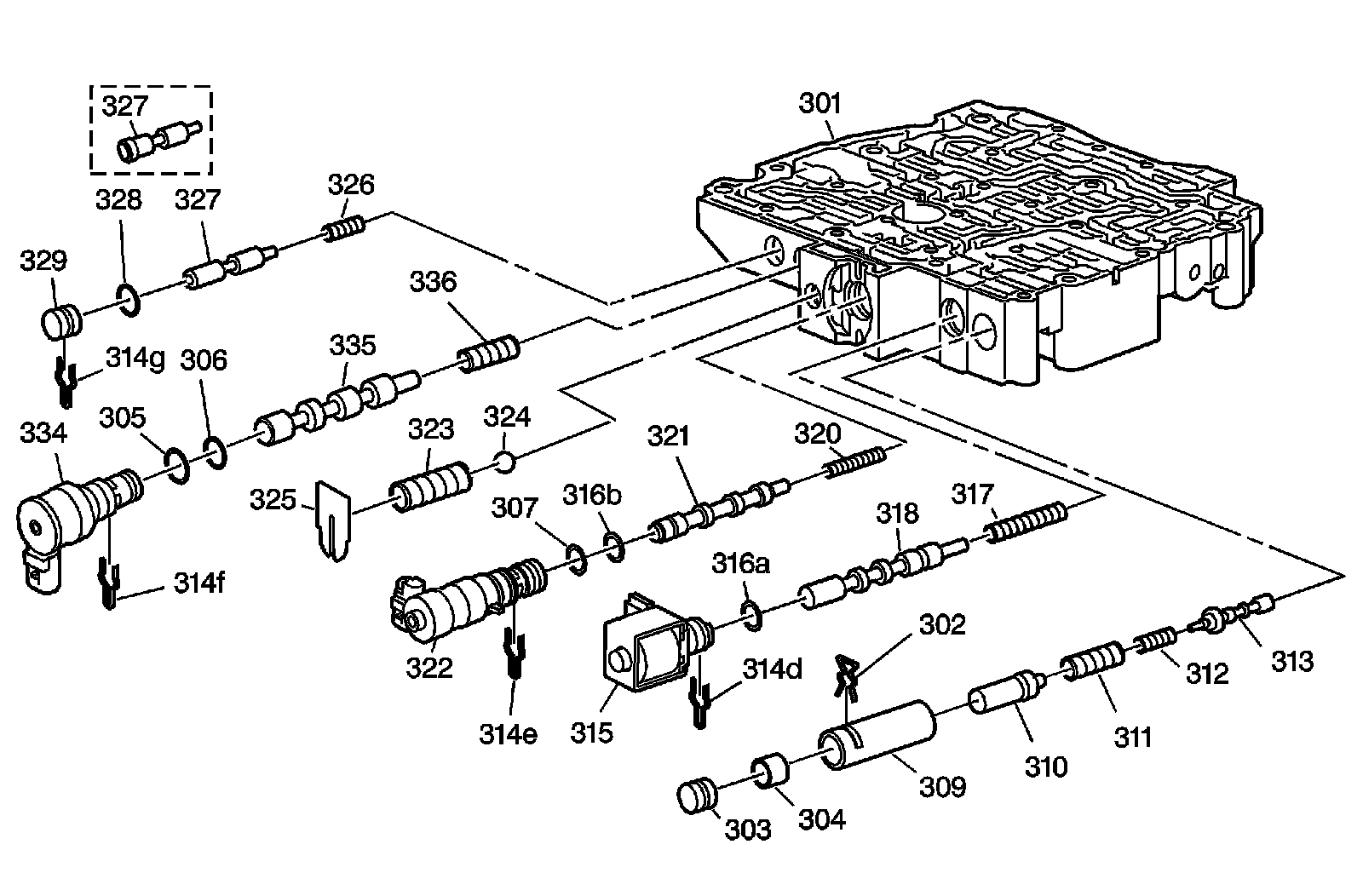
Control Valve Body Assembly - (1 of 2)




301 - Control Valve Body Machined
302 - Line Boost Valve and Bushing Retainer
303 - Line Boost Valve Bore Plug
304 - Line Boost Valve
305 - TCC PWM Solenoid Valve O-Ring Seal
306 - TCC PWM Solenoid Valve O-Ring Seal
307 - Pressure Control Solenoid Valve O-Ring Seal
309 - Reverse Boost Valve Bushing
310 - Reverse Boost Valve
311 - Pressure Regulator Valve Spring Outer
312 - Pressure Regulator Valve Inner Spring
313 - Pressure Regulator Valve
314d - 1-2, 3-4 Shift Solenoid Valve Retainer
314e - Pressure Control Solenoid Valve Retainer
314f - TCC PWM Solenoid Valve Retainer
314g - TCC Regulator Apply Valve Bore Plug Retainer
315 - 1-2, 3-4 Shift Solenoid Valve Assembly
316a - 1-2, 3-4 Shift Solenoid Valve O-Ring Seal
316b - Pressure Control Solenoid Valve O-Ring Seal
317 - 1-2 Shift Valve Spring
318 - 1-2 Shift Valve
320 - Torque Signal Regulator Valve Spring
321 - Torque Signal Regulator Valve
322 - Pressure Control Solenoid Valve Assembly
323 - Line Pressure Relief Valve Spring
324 - Line Pressure Relief Valve
325 - Line Pressure Relief Valve Spring Retainer
326 - TCC Regulator Apply Valve Spring
327 - TCC Regulator Apply Valve - Some Models have touch activated Power
327 - TCC Regulator Apply Valve - Some Models have touch activated Power
328 - TCC Regulator Apply Valve Bore Plug O-Ring Seal
329 - TCC Regulator Apply Valve Bore Plug
334 - TCC PWM Solenoid Valve Assembly
335 - TCC Control Valve
336 - TCC Control Valve Spring

Control Valve Body Assembly - (2 of 2)




301 - Machined Control Valve Body
314a - 1-2 Accumulator Valve Retainer
314b - 4-3 Manual Downshift Valve Retainer
314c - 2-3 Shift Solenoid Valve Retainer
315b - 2-3 Shift Solenoid Valve Assembly
316 - O-Ring Seal
339 - 1-2 Accumulator Valve Bore Plug
340 - 3-4 Accumulator Valve Spring
341 - 3-4 Accumulator Valve
341 - 3-4 Accumulator Valve - Some Models
342 - 2-3 Accumulator Valve Bore Plug Retainer
343 - 2-3 Accumulator Valve Bore Plug
344 - 2-3 Accumulator Valve
345 - 2-3 Accumulator Valve Bushing
346 - 2-3 Accumulator Valve Spring
350 - 1-2 Accumulator Valve
351 - 1-2 Accumulator Valve Spring
353 - 3-2 Manual Downshift Valve Retainer
354 - 3-2 Manual Downshift Valve Bore Plug
355 - 3-2 Manual Downshift Valve Spring
356 - 3-2 Manual Downshift Valve
357 - 2-3 Shift Valve
359 - 4-3 Manual Downshift Valve Bore Plug
360 - 4-3 Manual Downshift Valve
361 - 4-3 Manual Downshift Valve Spring
362 - 3-4 Shift Valve
385 - 2-3 Accumulator Valve Bushing Assembly Retainer